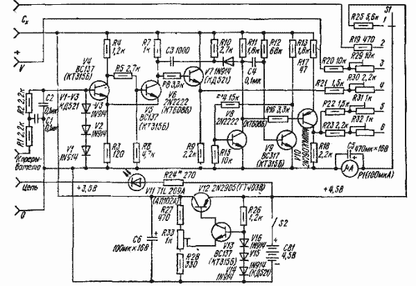
В зависимости от положения переключателя рода работы этим прибором можно проверять напряжение встроенного автономного источника питания и аккумуляторных батарей, исправность электролитических конденсаторов, угол опережения зажигания, частоту вращения коленчатого вала четырех- и шестицилиндрового двигателей. Кроме того, при любом положении переключателя рода работы SI можно производить проверку низкоомных электрических цепей.
Для повышения стабильности и точности результатов измерений электронная часть прибора питается от гальванической батареи G1 через стабилизатор напряжения на транзисторах V12, V13. В качестве источника опорного напряжения используется параметрический диодный стабилизатор (V14-VI6). Стабилизированное напряжение 3,5 В можно плавно регулировать переменным резистором R33. При измерении постоянных напряжений (переключатель S1 в положении 1 или 3) используют миллиамперметр Р1, который совместно с резисторами R25 или R20 и R29 образует вольтметр постоянного напряжения. При проверке исправности внешних цепей вместо миллиамперметра индикатором служит светодиод VII, который включается последовательно с батареей G1 через резистор R24. Разрыв проверяемой цепи подключают к клеммам Цепь и 0.
Принцип измерения угла опережения зажигания и частоты вращения коленчатого вала двигателя заключается в измерении временных характеристик импульсного напряжения, действующего на клеммах прерывателя системы зажигания двигателя. Так, частота появления импульсов прямо пропорциональна частоте вращения коленчатого вала двигателя и обратно пропорциональна числу цилиндров, а угол поворота вала, при котором прерыватель находится в замкнутом состоянии, прямо пропорционален отношению длительности импульса к периоду его повторения.
При подключении контактов прерывателя к клеммам К прерывателю и О (положение 4 переключателя S1) импульсное напряжение фильтруется от дополнительных высокочастотных помех фильтром нижних частот (R1, R2, С1, С2), ограничивается диодным ограничителем (V/-V3) и далее поступает на вход триггера Шмитта (V4-V5). Длительность выходных импульсов триггера при этом соответствует времени поворота вала двигателя при замкнутых контактах прерывателя, а период повторения импульсов - времени между возникновением искры в каждом цилиндре. Поскольку амплитуда импульсов на выходе триггера постоянна, среднее значение тока на выходе эмиттерного повторителя (V7) прямо пропорционально углу поворота вала, при котором контакты прерывателя замкнуты.
При измерении частоты вращения коленчатого вала четырехцилиндрового двигателя (положенье 5 переключателя S1) используется одновибратор (V8, V9), который запускается импульсами с выхода триггера Шмитта через дифференцирующую цепь (СЗ, R10, V7, R11). Выходные импульсы одновибратора стабильны по амплитуде и длительности, и их период повторения обратно пропорционален скорости вращения. Поэтому средний ток, проходящий через миллиамперметр и резисторы R22, R31, прямо пропорционален числу оборотов в минуту. Для измерения частоты вращения шестицилиндрового двигателя переключатель S1 необходимо перевести в положение 6. Шкала миллиамперметра проградуирована непосредственно в измеряемых величинах: постоянное напряжение - 0...15 В; угол поворота - 0.. 100╟, число оборотов - О...3000 мин"1. Шкала миллиамперметра Р1 при всех измерениях линейна. Для налаживания прибора необходимо подать на клеммы К прерывателю переменное напряжение 24 В, для чего можно использовать любой понижающий трансформатор, питаемый от сети. Подстроечным резистором R30 устанавливают стрелку миллиамперметра на отметку 45 шкалы углов. Затем резистором R31 (в положении 5 переключателя S1) устанавливают стрелку на шкале частоты вращения двигателя против отметки 1500 для четырехцилиндрового двигателя и 1000 - для шестицилиндрового.