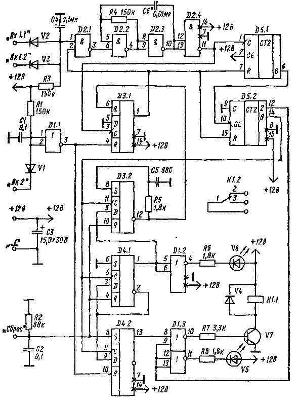
Схема охранного устройства, разработанного П. Хаврюченко, представлена на рисунке.
Устройство выполнено на интегральных микросхемах 561 серии со структурой КМОП, благодаря чему в дежурном режиме потребление тока невелико. На микросхеме D1 типа К561ЛЕ5 (четыре логических элемента 2 ИЛИ - НЕ) реализованы развязывающие инвертирующие усилители, необходимые для управления микросхемой D3.1, светодиодами V5, V6 и электромагнитным реле К1.1. 
На микросхеме D2 типа К561ЛА7 (четыре логических элемента 2И-НЕ) реализованы схема совпадений D2.1, мультивибратор D2 г J2.3 и развязывающий усилитель-инвертор D2.4.
На микросхеме D3 типа К561ТМ2 (два D-триггера с установкой "0" и "1") реализованы формирователи импульсов, обеспечивающие блокировку либо деблокировку схемы совпадений D2.1.
На микросхеме D4 также типа К561ТМ2 выполнены формирователи импульсов, обеспечивающие запуск триггера D3.2, свечение светодиода V6 (триггер D4.1) и срабатывание реле K1.1 от ключевого транзистора V7, а также свечение светодиода V5 (триггер D4 2).
На микросхеме D5 типа К561ИЕ10 (два четырехразрядных счетчика) выполнено устройство формирования двух интервалов времени, определяемых частотой срабатывания мультивибратора D2.2, D2.3 и коэффициентом деления счетчика D5. В течение одного из этих интервалов времени (около 8... 10 с ) водитель автомобиля после отключения клеммы "сброс" от источника напряжения +12 В должен выйти из автомобиля и закрыть дверь, либо зайти в автомобиль и отключить охранную сигнализацию, подключив потайным выключателем клемму "сброс" к источнику напряжения +12В. В течение другого интервала времени с помощью контактов К.1.2 реле К1.1 звуковой сигнализатор подключается к источнику питания.
При открывании дверей автомобиля с помощью контактных датчиков, не показанных на рисунке, клеммы "Bx.1.1", "Bx.1.2" подключаются к земляному проводу. В качестве контактных датчиков могут быть использованы кнопочные выключатели, обеспечивающие включение освещения в салоне автомобиля при открывании дверей. В этом случае достаточно использовать лишь одну клемму "Bx.1.1", так как все кнопочные выключатели включены параллельно. Подключение любой из клемм "Bx.1" к земляной шине обеспечивает передачу напряжения высокого уровня ("логическая 1") на клемму 6 микросхемы D2. Благодаря этому мультивибратор D2.2, D2.3 начинает работать в автоколебательном режиме. От первого перепада напряжения положительной полярности с-выхода буферного усилителя-инвертора D2.4 срабатывает триггер D3.1. На его выходе 1 появляется потенциал низкого уровня ("логический 0"), благодаря которому "блокируется" схема D2.1 и на ее выходе устанавливается потенциал высокого уровня независимо от величины потенциала на клемме "Bx.1.1". Импульсы мультивибратора через усилитель-инвертор D2.4 поступают на вход 1 микросхемы D5 и после отсчета 128 импульсов на выходе 14 возникает перепад напряжения. Этим перепадом на выходе D-триггера микросхемы D4.1 устанавливается потенциал высокого уровня и обеспечивается загорание светодиода V6, что свидетельствует о переходе охранного устройства в дежурный режим.
С выхода микросхемы D4.1 потенциал высокого уровня поступает также на вход 9 микросхемы D3.2, с помощью которой формируется импульс запуска микросхемы D3.1. На выходе этой микросхемы устанавливается потенциал высокого уровня, благодаря чему при закрытых дверях автомобиля на выходе 1 микросхемы D2 устанавливается потенциал низкого уровня и мультивибратор D2.2, D2.3 переходит в заторможенный режим. Одновременно потенциалом высокого уровня с выхода 1 микросхемы D3.1 устанавливается в исходное состояние счетчик на микросхеме D5. Если теперь открыть дверь автомобиля, то начинает работать мультивибратор D2.2, D2.3, срабатывает триггер D3.1 и на его выходе устанавливается потенциал низкого уровня, благодаря чему не срабатывает работа мультивибратора даже при закрывании дверей. По истечении времени, соответствующего отсчету 128 импульсов мультивибратора, на выходе 14 микросхемы D2.5 появляется импульс с положительным перепадом напряжения, с помощью которого на выходе 13 микросхемы D4.2 устанавливается потенциал низкого уровня, обеспечивающий на выходе 10 микросхемы D1.3 потенциал высокого уровня. С выхода 12 микросхемы D5.2 на входы микросхемы D1.3 поступают импульсы, частота которых в 32 раза меньше частоты мультивибратора. В результате этого начинает зажигаться светодиод V5, транзистор V7 периодически открывается, срабатывает реле К1.1 и своими контактами К1.2 периодически подключает к аккумулятору звуковую сигнализацию. Звуковая сигнализация срабатывает без задержки, если при открывании капота либо багажника с помощью контактных датчиков к земляной шине подключается клемма "Вх2". В этом случае на выходе инвертора D1.1 возникает потенциал высокого уровня, с помощью которого на выходе 13 микросхемы D4.2 формируется потенциал низкого уровня, что вызывает открывание транзистора V7 и включение звуковой сигнализации. Потенциал высокого уровня с выхода микросхемы D1.1 воздействует на микросхему D3.1 и на ее выходе 1 образуется потенциал низкого уровня, с помощью которого "блокируется" микросхема D2.1 и мультивибратор D2.2, D2.3 переходит в автоколебательный режим даже при закрывании капота. При этом частота срабатывания звуковой сигнализации будет определяться частотой поступления импульсов на вход 9 микросхемы D1.3 с делителя частоты D5.1, D5.2. Для выключения звуковой сигнализации необходимо потайным тумблером клемму "сброс" подключить к источнику напряжения +12 В.
В схеме охранного устройства использованы ключевой транзистор V7 типа П307В, реле К1.1 типа РЭС-22 (паспорт РФ4.500.129), диоды типа Д237А, светодиоды типа АЛ102. Вместо транзистора П307В можно использовать КТ315 с любым буквенным индексом. В этом случае реле К1.1 должно быть типа РЭС-49 (паспорт РС4. 569.421-02(-08)).
Охранное устройство для автомобиля на микросхемах
Doc
Просмотров: 5085