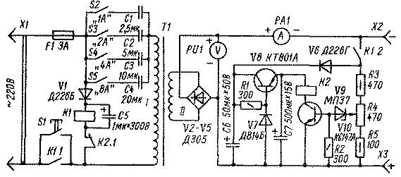
Для регулировки зарядного тока в устройстве используется магазин конденсаторов, включенный последовательно с первичной обмоткой трансформатора. Это позволяет значительно уменьшить выделяемую тепловую мощность по сравнению с реостатными, транзисторными или тиристорными регуляторами тока.
Устройство позволяет устанавливать зарядный ток 12-воль-тового аккумулятора на заданном уровне с дискретностью 1 А при максимальном токе до 15 А. При достижении полной зарядки устройство автоматически отключает аккумулятор. Зарядный ток задается включением заданной комбинации переключателей S2-S5. Включение переключателя S2 соответствует току 1 А, S3-2А, S4-4А, S5-8 А. При включении нескольких переключателей ток заряда будет равен сумме токов каждого переключателя.
На транзисторах V8, V9 и реле К.2 собрано пороговое устройство, срабатывающее при напряжении на гнездах Х2, ХЗ, равном напряжению полностью заряженного аккумулятора Порог срабатывания устанавливается переменным резистором R4. Контакт реле К1.2 необходим для исключения разряда аккумулятора через пороговое устройство после отключения устройства от сети. После подключения аккумулятора к клеммам Х2, ХЗ и установки переключателей S2-S5 в требуемое положение, устройство подключается к сети с помощью кнопки S1. При этом срабатывает реле К1 и контактами К1.1 блокирует кнопку S1, а контактами К1.2 подключает цепь порогового устройства.
Детали. Резисторы типа МЛТ; переменный резистор R4 типаСП-1; транзисторы V8 типа КТ801А или КТ602, КТ603, П701, V9 типа МП37, КТ315, КТ312, КТ601...КТ603; измерительные приборы РА1 и PU1 типа М5-2, рассчитанные соответственно на 30 А и 30 В; реле К1 типа РС-13 (контакты /<7.7 образованы тремя параллельно соединенными группами контактов); диоды v2-v5 типов Д305, Д214, Д242 устанавливаются на радиаторы; конденсаторы С1-С4 типов МБГЧ, МБГО, МБГП, МБМ с рабочим напряжением 600 В или КБГ-ММ, МБГЧ-300 В, С5-С7 типов К50-3, К50-6, ЭГЦ; трансформатор Т1: обмотка i 320 витков провода ПЭВ-2 1,16 мм, обмотка ii 34 витка ПЭВ-2 2,46, сердечник Ш32 x 100; переключатели si-s5 типа ТВ2-1.
Налаживание сводится к подбору батарей конденсаторов С1-С4 по заданному току зарядки.
Автоматическое зарядное устройство предложено А. Евсеевым.
Автоматическое зарядное устройство
Doc
Просмотров: 12525