Cветоакустические установки

В нашей стране и за рубежом находят широкое применение различные светоакустические устройства, создающие световые эффекты в такт с мелодией воспроизводимой музыкальной программы. За рубежом такие устройства называются "Цветовыми органами:", "Танцевальными огнями", "Ритмиконами" и т. д. Большинство устройств выполняют в виде приставок к приемникам, электро- и магнитофонам.

Как известно, работа светоакустических установок основана на изменении цвета и яркости свечения осветительных приборов, размещенных за специальным прозрачным экраном, в такт с изменением тона и громкости звучания акустической системы. Управляющее напряжение для светоакустической приставки снимается со звуковой катушки головки громкоговорителя или с линейного выхода УНЧ, входящего в состав электроакустической установки.

Принято считать, что звуковым сигналам басовой группы (нижним частотам), занимающим полосу частот до 150-.200 Гц, должен соответствовать красный цвет; средним частотам (200-1000 Гц) -желтый или зеленый; высшим частотам (более 1 кГц) - синий или голубой. Эти цветовые эффекты создаются источниками света, стеклянные колбы которых покрыты прозрачным лаком соответствующего цвета. Яркость свечения канальных источников света регулируется транзисторными или тиристорными управителями. Число таких управителей должно быть равно числу каналов, обычно трем. Нередко на страницах зарубежных изданий можно встретить описания четырех-, пяти- и более канальных светоакустических установок. В этих случаях либо вводятся так называемые фоновые каналы фиолетового или бледно-желтого цвета, работающие постоянно или в моменты, когда выключаются все остальные каналы, либо выделяются в отдельный канал, управляемый частотами выше 4-б кГц.

В соответствии с изложенными принципами построения светоакустические установки должны содержать многоканальные фильтры, разделяющие спектр входного сигнала на несколько частотных полос (3, 4 или 5), канальные управители, работающие совместно с канальными источниками света определенной окраски, и источник питания. Поскольку светоакустические эффекты проявляются наиболее заметно при электрической мощности канальных источников света не менее 50-60 Вт, то питать такие установки целесообразно только от сети.

Транзисторные приставки, создающие светоакустические эффекты, маломощны, часто выходят из строя, требуют кропотливого налаживания, хотя и позволяют получить плавное воспроизведение переходов тональности и интенсивности. Наиболее распространены тиристорные приставки.

Простая светоакустическая приставка на тиристорах.

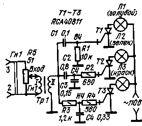
На рис.1 дана принципиальная схема простой тиристорной светоакустической приставки, содержащей три. цветовых канала и питающейся от сети переменного тока 1'27 В. Для повышения входного управляющего напряжения, снимаемого со звуковой катушки головки акустической системы, а также для развязки входной цепи и сети переменного тока на входе приставки включен повышающий трансформатор Тр1, в качестве которого рекомендуется использовать выходной трансформатор от лампового сетевого приемника II или IV класса, включив его вторичную обмотку на вход, а первичную - к фильтру.

cv-muz1.png
Puc.1

Приставка по схеме рис.1 способна обеспечить одновременную работу всех трех каналов при использовании в каждом из них по одной лампе мощностью 100 Вт. Столь высокие напряжения и мощности требуют принятия дополнительных мер предосторожности при налаживании и работе с приставкой. Все конденсаторы должны быть рассчитаны на рабочее напряжение не менее 200В. Тиристоры, используемые в качестве управляемых ключей, должны выдерживать обратные запирающие напряжения, по крайней мере в 1,5-2 раза большие, чем напряжение питания. Допустимый средний ток тиристоров должен быть не менее максимального тока, потребляемого лампой каскада. В данном случае - не менее 1 А. С учетом вышеизложенного при повторении приставки можно использовать тиристоры типа КУ202И или КУ202Л. При наличии высоковольтных тиристоров типа КУ202Н можно увеличить напряжение питания до 220 В переменного тока. При этом мощность ламп в каждом канале может быть доведена до 200 Вт.

Если же в распоряжении радиолюбителя будут только низковольтные тиристоры, например, типа КУ202Б, КУ202В или КУ202Г, допускающие обратные напряжения до 25, 50 и 100 В соответственно, питание приставки следует производить через регулируемый автотрансформатор. Конечно, лампы накаливания должны быть рассчитаны на более низкое напряжение. И, как показывает практика, даже при таком усложнении схемы приставки ее свечение значительно заметнее, чем у транзисторных приставок. Однако подобные приставки имеют ряд недостатков. Приведем основные из них.

1. В ряде случаев, особенно при работе с большой громкостью, все канальные лампы включаются и выключаются одновременно, в такт с изменением громкости. При этом изменение тональности звука не влияет на работу ламп различных каналов. Как правило, это происходит из-за очень высокого уровня входного сигнала и несовершенства разделительных фильтров, имеющих крутизну скатов характеристик вне полос пропускания всего 6 дБ/окт. Устранить этот недостаток можно включив на входе приставки дополнительный резистор R5. С помощью переменного резистора можно регулировать уровень сигнала на входе разделительных фильтров таким образом, чтобы при установленной выходной мощности УНЧ обеспечивалось четкое включение и выключение каналов. Напряжение сигнала на входе первичной обмотки трансформатора при этом должно быть равно 0,2-0,5 В. При большем напряжении сигнала нарушается нормальная работа приставки.

Дополнительный переменный резистор должен быть проволочным на 51- 100 Ом. Для удобства подведения сигнала рекомендуется в качестве входного гнезда использовать разъем типа СГ-3. Во всех случаях должна быть обеспечена надежная изоляция монтажной платы с тиристорами и деталями разделительных фильтров от входного гнезда и переменного резистора.

2. Наблюдается большая неравномерность свечения ламп. Они либо горят полным накалом, либо не светятся совсем. Иногда экран полностью гаснет, чаще всего это бывает, когда громкость звучания сильно падает. Этот недостаток является прямым следствием простоты данной конструкции. Частично его можно устранить введением четвертого, фонового канала, который остается включенным в то время, когда три других выключаются полностью. Конструкция такого улучшенного варианта приставки приводится ниже. 3. Лампы накаливания не дают яркого свечения, заметно мигание. Этот недостаток объясняется использованием тиристоров, обладающих несимметричной выходной характеристикой. Это значит, что такие тиристоры ведут себя как управляемые однополупериодные выпрямители, тогда как для нормального свечения стандартных ламп накаливания необходимо использование обоих полупериодов - положительного и отрицательного. Устранение такого недостатка возможно двумя путями. Во-первых, питанием анодных цепей тиристоров от сети через двухполупериодный выпрямитель по мостовой схеме. Если для этой цели использовать выпрямитель на четырех диодах типа Д226, то суммарный ток, потребляемый от сети, не должен превышать 0,6 А, что соответствует применению в каждом канале ламп мощностью не более 50 Вт. Как показывает практика, в большинстве случаев этого бывает достаточно. Во-вторых, можно использовать тиристоры с симметричной выходной характеристикой. В этом случае дополнительный выпрямитель в цепи питания не требуется.

Светоакустическая приставка с фоновым каналом.

Эта приставка была разработана болгарским радиолюбителем. В ней устранены многие недостатки простой приставки, о которой шла речь выше. Приставка имеет три основных частотных канала с полосами частот от самых низших до 230 Гц (лампы красного цвета); от 230 Гц до 2,3 кГц (лампы зеленого цвета); выше 2,3 кГц (лампы синего цвета). Принципиальная схема приведена на рис.2. Из рисунка видно, что питание анодов тиристоров производится от сети переменного тока напряжением 220 В через двухполупериодный выпрямитель на четырех диодах типа Д246, рассчитанных на ток до 5 А. Входной управляющий сигнал подается на гнездо Гн2, далее через повышающий трансформатор Тр1 на входы разделительных фильтров. Для коррекции уровня сигнала на входах разделительных фильтров используется переменный резистор R1. В данном случае он может быть непроволочным.

cv-muz2.png
Puc.2

Разделительные фильтры выполнены с применением катушек индуктивности. Для выравнивания чувствительности тиристоров различных каналов применены дополнительные резисторы, включенные между анодами и управляющими электродами тиристоров. Один из резисторов - подстроечный. Особенностью схемы является наличие фонового канала на лампе Л2, колба которой окрашена в желтый цвет. Эта лампа подключается параллельно аноду и катоду тиристо-ра Д6. Светится она только тогда, когда тиристор Д6 закрыт и все напряжение с выхода выпрямителя делится примерно поровну между лампами сред-нечастотного (зеленого цвета) и фонового (желтого цвета) канала.

Кроме того, в каждом разделительном фильтре есть подстроечные резисторы R2-R4. С их помощью производится коррекция коэффициентов передачи каждого фильтра для достижения правильного срабатывания тиристоров в соответствии со спектральным составом управляющего сигнала.

Катушки LI и L2 намотаны на каркасах, в которые потом вставляют сердечники ШЗХ'6 от выходных трансформаторов для карманного приемника. Катушки намотаны проводом ПЭЛ-1 0,1 и содержат соответственно 750 и 500 витков.

Светоакустическая приставка на симметричных тиристорах.

На рис.3 приведена принципиальная схема простой светоакустической приставки с тремя каналами, в каждом из которых включена лампа мощностью 200 Вт. Приставка была описана на страницах румынского молодежного журнала. Частоты разделения полос каналов 150, 800 Гц и 2 кГц. Конструкция имеет много общего с .приставкой на рис.1: простейшие разделительные фильтры, повышающий трансформатор на входе разделительных фильтров, лампы и тиристоры с симметричной выходной характеристикой. Симметричные тиристоры Д1-ДЗ управляются так же, как тиристоры с несимметричной характеристикой, но проводят так в течение обоих полупериодов переменного напряжения сети.

cv-muz3.png
Puc.3

Как видно из рис.3, приставка содержит, корректирующие переменные резисторы на входе каждого разделительного фильтра, что позволяет регулировать работу приставки в зависимости от музыкального содержания прослушиваемой и .просматриваемой программы.

При повторении конструкции можно использовать высоковольтные симметричные тиристоры типа КУ208Г, допускающие обратное напряжение на аноде до 400 В. Сведения о других деталях приставки можно почерпнуть из описаний двух предшествующих приставок.

Светоакустические установки являются пока относительно редкими для слушателя и зрителя устройствами, поэтому к ним обычно привлекается внимание многих. Декоративно оформленные экраны светоакустических установок могут быть установлены в жилом помещении или в клубе.

Определенный интерес представляет использование двух светоакустических установок, работающих совместно со стереофонической системой. На экранах установок хорошо различается разбалансировка каналов усилителя, особенности работы каналов при воспроизведении звуков от перемещающихся инструментов.

И, наконец, все описанные приставки являются по существу простейшими анализаторами спектра электрических сигналов, которые можно использовать без акустических установок. Например, если ко входу приставки подключить выход генератора импульсов, то число и яркость свечения каналов будут зависеть от длительности импульсов и частоты их повторения.

Вся информация, предоставленная на данном ресурсе разрешена к ознакомлению детям школьного возраста. Все практическое использование может быть связана с повышенной электрической опасностью и разрешено детям только под присмотром взрослых.