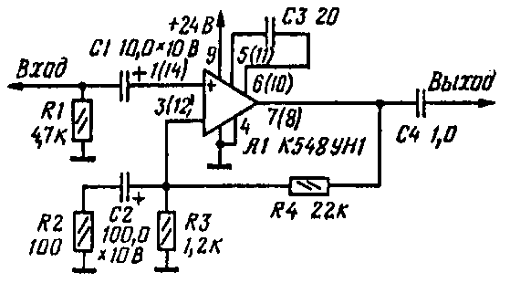
Микрофонный усилитель

Микрофонный усилитель - еще одна область применения микросхемы, где важен малый уровень собственных шумов. Такой усилитель должен иметь, как правило, линейную АЧХ в номинальном диапазоне частот и обладать достаточно высокой перегрузочкий способностью. Устройство, собранное по схеме на рис.4, имеет следующие технические характеристики:
Номинальный диапазон частот, Гц, при неравномерностн АЧХ не более 1 дБ: 20...20000
Hoминальное напряжение, мВ:
входное: 1 выходное: 250
Максимальное входное напряжение, мВ: 30
Входное сопротивление, кОм: 4,7
Отношение сигнал/шум в номинальном диапазоне частот, дБ, не менее: 60
Коэффициент гармоник, %, при выходном напряжении 5 В: 0.2
Микросхема в данном случае включена по схеме неинвертирующего усилителя с использованием одного транзистора дифференциального каскада, что, как уже говорилось, уменьшает уровень шумов.
Обсудить эту статью на форуме (0 ответов).
Вся информация, предоставленная на данном ресурсе разрешена к ознакомлению детям школьного возраста. Все практическое использование может быть связана с повышенной электрической опасностью и разрешено детям только под присмотром взрослых.