Особенностью усилителя является синхронное (с сигналом) питание каскада на операционном усилителе изменяющимися напряжениями и применение в выходном каскаде режима В. Основные параметры Номинальный диапазон частот, Гц 10...50000
Номинальная выходная мощность на нагрузке сопротивлением 8 Ом (при коэффициенте гармоник 0,2 %), Вт 10
Номинальное входное напряжение, В 1
Входное сопротивление, кОм 5
Ток покоя, мА 15
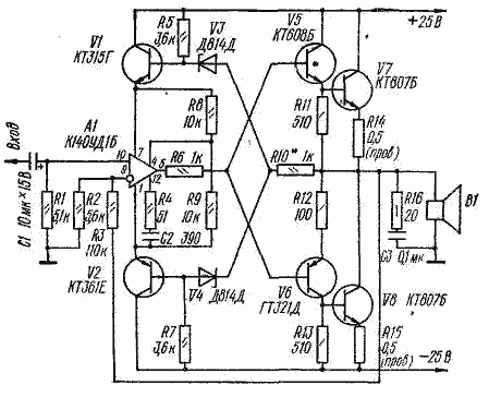
Усилитель содержит каскад усиления напряжения сигнала на операционном усилителе А1 и выходной каскад на транзисторах V5-V8.
В отсутствие сигнала транзисторы V5-V8 закрыты, чем и обусловливается малый ток, потребляемый усилителем. При этом напряжение в точке соединения стабилитронов V3, V4 и резистора R10* равно нулю, а на выводах питания операционного усилителя поддерживается, равным номинальным напряжениям питания стабилизаторами на транзисторах V1, V2.
С появлением сигнала на входе напряжение в точке соединения стабилитронов изменяется на величину выходного сигнала. В* результате от операционного усилителя оказывается возможным получить значительно большее напряжение сигнала, чем при обычном питании. Резистор R10*, соединяющий стабилитроны с выходом усилителя, уменьшает максимальное напряжение на входах операционного усилителя (по постоянному току они, как видно из схемы, соединены с общим проводом, поэтому синфазное изменение напряжений питания эквивалентно подключению к ним источника синфазного сигнала).
Усилитель не боится перегрузок по входу и коротких замыканий в нагрузке. Если это случится, то коэффициент усиления операционного усилителя резко уменьшится (в результате снизится и выходное напряжение), а его выходной ток (а следовательно, и выходной ток всего усилителя) будет ограничен резистором R6.
Коэффицент усиления усилителя определяется отношением сопротивлений резисторов R3 и R2 цепи ООС (К = 1 + R3/R2). Последняя снижает выходное сопротивление усилителя, улучшая его работу в области низших частот, и стабилизирует напряжение на нагрузке - громкоговорителе В1.
Налаживание усилителя заключается в проверке постоянного напряжения на нагрузке (оно должно быть близко к нулю) и подборе резистора R10*. На время налаживания его удобно заменить переменным (сопротивлением 2,7...3,3 кОм). Подав на вход усилителя переменное напряжение от генератора сигналов звуковой частоты, уменьшают сопротивление резистора до получения на экране осциллографа максимально возможного неискаженного выходного сигнала. Чрезмерно уменьшать сопротивление резистора R10* не рекомендуется, так как это приведет к снижению устойчивости работы усилителя (он может перейти в триггерный режим). При существенном (более ╠ 0,1 В) отличии напряжения на выходе от нуля следует подобрать резистор R1.