Индикатор уровня сигнала

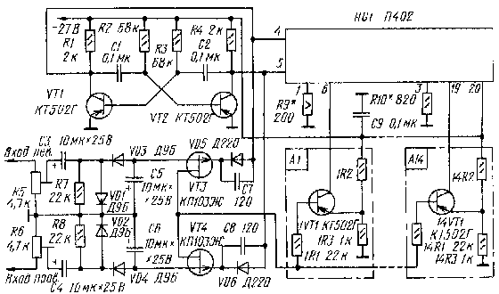
Предлагаемое вниманию радиолюбителей устройство может быть использовано в качестве индикатора стереобаланса и уровня выходного сигнала. Его можно подключить как к выходам усилителей мощности ЗЧ, так и к линейным выходам любых звуковоспроизводящих устройств. фазные импульсы, попадающие затем на сетки индикатора в такт с подключением входов стереофонических сигналов. В результате сигналы с левого и правого каналов поочередно (и синхронно с напряжением на сетках) поступают на транзисторные ключи А1-А14 (на рисунке показан первый А1.

Основные технические характеристики:
Динамический диапазон на частоте 1 кГц, дБ . . . 25
Время интеграции, мс . . . 10
Время обратного хода, мс . . . 150
Число сегментов шкалы . . . 14
Напряжение питания, В . . . 27
Потребляемый ток, А . . . 0,2
Принципиальная схема индикатора приведена на рис. 1. На его входе установлены выпрямители на диодах VD1, VD3 и VD2, VD4, на которые через входные делители R5, R6 и разделительные конденсаторы С3, С4 поступают сигналы с выходов левого и правого каналов радиоустройств. Выпрямленные и отфильтрованные конденсаторами С5, С6 сигналы поступают на транзисторный коммутатор VT3, VT4. Работой вакуумно-люминесцентного индикатора (ВЛИ) HQ1 управляет мультивибратор на транзисторах VT1, VT2. Он вырабатывает парафазные импульсы, попадающие затем на сетки индикатора в такт с подключением входов стереофонических сигналов. В результате сигналы с левого и правого каналов поочередно (и синхронно с напряжением на сетках) поступают на транзисторные ключи А1-А14 (на рисунке показан первый А1 и последний А14), каждый из которых срабатывает при определенном напряжении сигнала на базе его транзистора. Порог срабатывания ключа определяется напряжением на эмиттере его транзистора и зависит от сопротивления резисторов 1R2-14R2. Когда напряжение сигнала превысит напряжение на эмиттере транзистора (примерно на 0,6 В), он откроется и соответствующий сегмент ВЛИ начнет светиться. Сопротивления резисторов 1R2-14R2 (в килоомах), при которых обеспечивается индикация сегментами определенной регистрируемой выходной мощности при постоянном сопротивлении нагрузки, можно рассчитать поформуле: R2= (27,6-(PRн)0,5)/((PRн)0,5-0,6), где Р - регистрируемая выходная мощность, Вт, Rн - сопротивление нагрузки, Ом.

При подключении индикатора к линейным выходам радиоустройств с небольшим напряжением выходного сигнала необходимо повысить его чувствительность. Для этого к нему следует подключить усилитель напряжения на двух ОУ DA1 - DA2 (рис.2).
В индикаторе использованы резисторы МЛТ-0,125, (R9 - составлен из нескольких параллельно соединенных резисторов). Диоды VD5, VD6 Д220, КД503 и им подобные. Транзисторы 1VT1 - 14VT1 любые из серии КТ502 (В, Г), с коэффициентом передачи тока h21 >60.
Индикатор собран на плате из одностороннего фольгированного стеклотекстолита размерами 130х80 мм. Плата с предусилителем на ОУ DA1, DA2 монтируется отдельно. Для увеличения контрастности и облегчения считывания информации ВЛИ рекомендуется закрыть нейтральным светофильтром (ГОСТ 9411-81) с коэффициентом пропускания светового потока 0,2...0,3.
Так как индикатор может создавать помехи, его не рекомендуется размещать рядом с магнитными головками, микрофонными усилителями и другими чувствительными к наводкам устройствами и лучше всего поместить в экран.
Налаживание индикатора начинают с подбора такого резистора R9, при котором напряжение на нити накала ВЛИ находилось бы в пределах 3...3,8 В. Затем на вход левого и правого каналов поочередно подают сигнал частотой 1000 Гц и напряжением, соответствующим развиваемому усилителем при номинальной выходной мощности и заданном сопротивлении нагрузки (U=(РRн)0,5, где P - номинальная выходная мощность, Вт, Rн - сопротивление нагрузки, Ом). После этого подстроочными резисторами R5, R6 добиваются свечения всех зеленых сегментов HG1 до отметки "0 дБ" соответственно для левого и правого каналов. Так, при выходной мощности 50 Вт и сопротивлении нагрузки 4 Ом. соответствующее уровню "0 дБ". входное напряжение равно 14,1 В. И в заключение подбирают резистор R10 такого сопротивления, при котором яркость свечения шкалы, надписей "левый" и "правый", а также первых сегментов каналов была одинакова с яркостью свечения остальных сегментов.

О. ЖЕЛЮК г. Костополь, Ровенской обл.
P.S. Усилитель, выполненный по схеме рис.2, в 50 раз будет усиливать пульсации источника питания, поэтому входы 3 DA1, DA2 целесообразно подключить к общему проводу через конденсаторы емкостью 10 мкф на напряжение 15 В. Вполне достаточно одного делителя и одного конденсатора на два ОУ. В этом случае полярность конденсаторов С3, С4 индикатора (рис.1) следует изменить на обратную.


Радио №3, 1988 г., стр.44

Обсудить эту статью на форуме (0 ответов).
Вся информация, предоставленная на данном ресурсе разрешена к ознакомлению детям школьного возраста. Все практическое использование может быть связана с повышенной электрической опасностью и разрешено детям только под присмотром взрослых.