Электронный регулятор громкости

http://www.radio-portal.ru/https://vpn.radio-portal.su/cache/aud-12991_images_stories_pictures_thumb_medium600_0.png

http://www.radio-portal.ru/images/stories/pictures/aud-12991.png

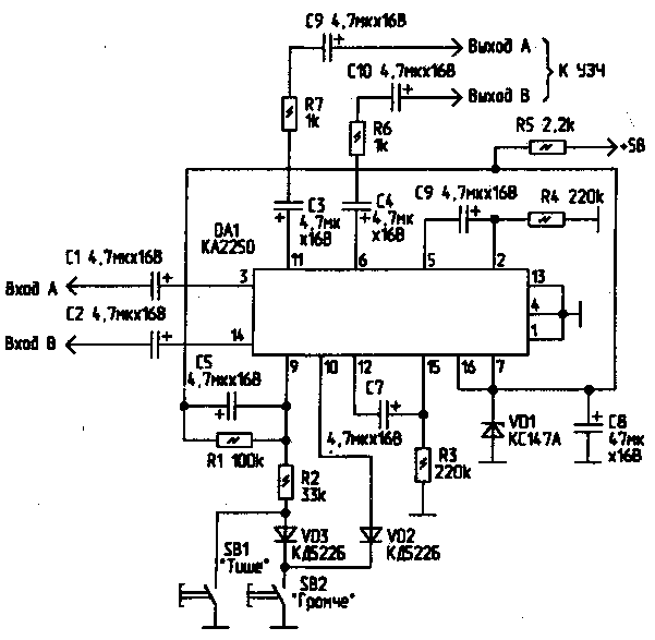
Для замены довольно посредственного по шумам и искажениям электронного регулятора громкости К174УН12 (A273D) предлагается применять более удачную ИМС KA2250. Типовая схема ее включения обеспечивает синхронную регулировку громкости двух каналов двумя кнопками SB1 ("Тише") и SB2 ("Громче"). К достоинствам КА2250, кроме доступной цены, относится и невысокое напряжение питания (5 В), позволяющее применять ее в переносной аппаратуре

Обсудить эту статью на форуме (0 ответов).
Вся информация, предоставленная на данном ресурсе разрешена к ознакомлению детям школьного возраста. Все практическое использование может быть связана с повышенной электрической опасностью и разрешено детям только под присмотром взрослых.