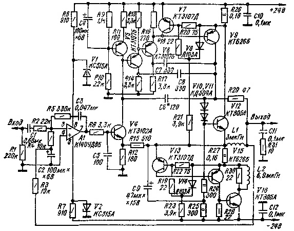
Усилитель мощности Решетникова

В усилителях мощности снижают искажения несколькими способами. Обычно вводят глубокую ООС, охватывающую усилитель с выходным каскадом, работающим в режиме В. Однако это чревато увеличением динамических искажений. Поэтому чаще в выходном каскаде высококачественного усилителя устанавливают режим А с неглубокой ООС. Но это требует термостабилизации большого тока покоя выходного каскада. Известен принцип построения усилителей звуковой частоты с коррекцией искажений в мостовых схемах усилителей с экономичным режимом В.

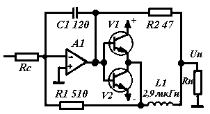
На рисунке показана функциональная схема усилительного устройства, состоящая из предварительного усилителя А1, выходного каскада на транзисторах V1 и V2, работающего в режиме В, и элементов моста R1C1, R2 и L1. Связь между выходным напряжением на нагрузке Uн и напряжением сигнала Uc выражается для данного устройства равенством

Ua= AUe+Bi, где i ≈ базовый ток выходных транзисторов, А и В ≈ коэффициенты, численные значения которых зависят от параметров элементов. Из формулы следует, что основным источником искажений может быть лишь базовый ток выходных транзисторов, поэтому, если построить усилитель, в котором коэффициент В будет равен нулю, можно устранить основной источник искажений. Условие компенсации нелинейных искажений совпадает с условием баланса моста, когда LI = R1R2C1.

Описанный метод компенсации нелинейных искажений применен в усилителе мощности, предложенном О. Решетниковым.

Усилитель работает в диапазоне частот 20...20000 Гц при неравномерности АЧХ ╠ 1 дБ. Выходная мощность усилителя 30 Вг при нагрузке 8 Ом и коэффициенте гармоник менее 0,02 %. При нагрузке 4 Ом выходная мощность достигает 40 Вт. Чувствительность усилителя 0,2 В. Уровень собственных шумов 75 дБ.

Четырехкаскадный предварительный усилитель работает в режиме A (A1, V3...V6 и V9), выходной каскад (V12, V15, V16) ≈ в режиме В. Усилитель снабжен защитой выходного каскада от перегрузок и короткого замыкания (V7 и V13). В первом каскаде применен малошумящий операционный усилитель на микросхеме К140УД8Б, охваченный ООС (C1R2R5C3) так, что коэффициент усиления на частотах выше 20 Гц постоянен и приблизительно равен 15. Во втором каскаде применен малошумящий транзистор V4, в коллекторную цепь которого для почучения максимального усиления включен источник тока на транзисторе V3. Третий каскад ≈ двойной эмиттерный повторитель на транзисторах V5, V6 служит для согласования входного сопротивления четвертого каскада, выполненного на транзисторе V9, с выходным сопротивлением второго каскада (V4). Мост R5C6R29L1 сбалансирован на радиочастотах. На низких частотах малый уровень нелинейных искажений обеспечивается глубокой (50...70 дБ) ООС, напряжение которой поступает в эмиттерную цепь транзистора V4 с выхода усилителя через делитель R12 и R15. В усилителе могут быть применены транзисторы V3, V5, V6, V7, V13 ≈ КТ3107Б, КТ3107Д, (несколько хуже КТ361В, КТ361Д), V4 ≈ КТ3102А, КТ342Г; V9, V15≈ КТ626А, КТ626Б, КТ616В, КТ814В, КТ814Г; катушки L1 и L2 намотаны виток к витку в два слоя проводом ПЭВ-2 1,0 на каркасах диаметром 7 мм, длиной 28 мм и содержит соответственно 30 и 46 витков.

Если усилитель правильно собран, никакого налаживания не потребуется. Мост R15C6R29L1 настраивают по минимуму искажений на выходе. Для этого на вход усилителя подают синусоидальный сигнал частотой 50 ..100 кГц, Подбором емкости конденсатора С6, наблюдая выходной сигнал на экране осциллографа, добиваются минимальных искажений формы сигнала.

Обсудить эту статью на форуме (0 ответов).
Вся информация, предоставленная на данном ресурсе разрешена к ознакомлению детям школьного возраста. Все практическое использование может быть связана с повышенной электрической опасностью и разрешено детям только под присмотром взрослых.