Усилитель для электрофона

Усилитель для электрофона предназначен для работы от пьезокерамического звукоснимателя.

Основные параметры Номинальный диапазон частот, Гц 20...30 000
Номинальная выходная мощность, Вт, на нагрузке сопротивлением 4 Ом при коэффициенте гармоник не более 0,7 % 6
Номинальное входное напряжение, мВ 200
Пределы регулирования тембра (на частотах 50 Гц и 12,5 кГц), дБ ╠20
Входное сопротивление, кОм 500
http://www.radio-portal.ru/https://server.radio-portal.su/cache/r2-2_images_stories_pictures_thumb_medium600_0.png

http://www.radio-portal.ru/images/stories/pictures/r2-2.png
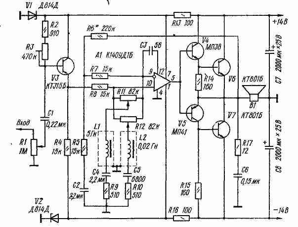
Усилитель состоит из входного эмиттерного повторителя на транзисторе V3; усилителя напряжения сигнала с регулятором тембра на операционном усилителе (ОУ) А1 и выходного каскада на транзисторах V4-V7.

Транзисторы выходного каскада работают без начального напряжения смещения, однако благодаря глубокой ООС, осуществляемой через цепь R6*R5C2R7, искажения типа "ступенька" в усилителе практически отсутствуют.

Тембр регулируют переменными резисторами R11 (по низшим звуковым частотам) и R12 (по высшим). В крайних левых (по схеме) положениях их движков последовательные колебательные контуры L1C4R9 и L2C5R10 оказываются включенными в цепь сигнала, и в соответствующих полосах частот он ослабляется. В крайних правых (по схеме) положениях движков контуры включаются в цепь ООС. В результате OOС ослабляется, а коэффициент усиления устройства увеличивается. Глубина регулирования тембра зависит от сопротивлений резисторов R9 и R10.

Катушка L1 (1400 витков провода ПЭВ-2 - 0,1) намотана на двух сложенных вместе ферритовых (2000НМ-А) кольцах типоразмера К20 X 12 X 6, катушка L2 (130 витков провода ПЭВ-2 - 0,27) - на одном таком кольце. Переменный резистор R1 должен быть группы В, резисторы R11, R12 - группы А.

Транзисторы V6, V7 установлены на теплоотводах с охлаждающей поверхностью площадью 100 см2.

Налаживание усилителя сводится в основном к установке нулевого постоянного напряжения на выходе подстроечным резистором R3. При необходимости чувствительность усилителя можно изменить в любую сторону подбором резистора R6*.

 

 

Обсудить эту статью на форуме (0 ответов).
Вся информация, предоставленная на данном ресурсе разрешена к ознакомлению детям школьного возраста. Все практическое использование может быть связана с повышенной электрической опасностью и разрешено детям только под присмотром взрослых.