Кассетный стереопроигрыватель

Кассетный стереопроигрыватель собран на базе лентопротяжного механизма магнитофона "Электроника-302" и предназначен для воспроизведения стерео и монофонических магнитофильмов. Питается от бортовой сети автомобиля.

Основные параметры
Скорость ленты, см/с
4,76
Рабочий диапазон частот, Гц
40...14 000
Номинальная выходная мощность (при напряжении питания 12,6 В на нагрузке сопротивлением 4 Ом), Вт
2х4
Коэффициент гармоник (на эквиваленте нагрузки сопротивлением 4 Oм), %, не более
1,5
Относительный уровень помех канала воспроизведения, дБ
-50

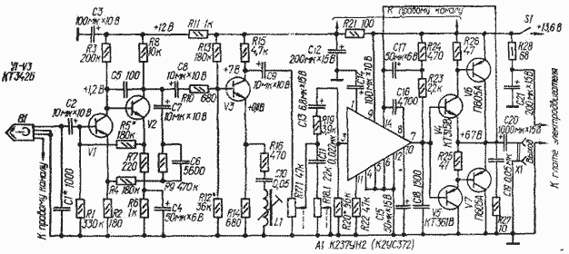
Тракт воспроизведения (на рис. IV. I показана схема одного из каналов магнитофона) состоит из универсальной головки В1, предварительного усилителя воспроизведения (V1-V3) и усилителя мощности (A1, V4-V7), к выходу которого подключен громкоговоритель.

На низших частотах АЧХ корректируется цепью частотно-зависимой ООС R4R9C6, охватывающей первые два каскада предварительного усилителя, на высших - настройкой контора, состоящего из индуктивности головки В1 и конденсатора С1, и последовательного контура L1C10 на частоту 14 кГц. Громкость воспроизведения регулируют переменным резистором R17, тембр (по высшим частотам) - переменным резистором R18.

В проигрывателе применена универсальная магнитная головка WY435Y2L2IN от магнитофона "Вильма-стерео". Можно использовать и головку ЗД24Н.21.О "Маяк" (3.253.099). Катушки L1 обоих каналов намотаны на унифицированных трехсекционных каркасах (до заполнения) проводом ПЭВ-2 0,08 и помещены в броневые сердечники из ферритовых (600НН) чашек внешним диаметром 8,6 мм. Подстроечники - СС2.8 х 12 из того же материала. Для отвода тепла от транзисторов выходного каскада (V6, V7) использована дюралюминиевая пластина (одна на оба канала) размерами 200 X 60 X 3 мм.

Налаживание проигрывателя сводится к проверке и, если необходимо, установке режимов работы транзисторов V1, V2 (подбором резистора R5*), V3 (R12*) и V4-V7 (R20*), а также настройке контуров LB1C1 и L1C10 на частоту 14 кГц.

Обсудить эту статью на форуме (0 ответов).
Вся информация, предоставленная на данном ресурсе разрешена к ознакомлению детям школьного возраста. Все практическое использование может быть связана с повышенной электрической опасностью и разрешено детям только под присмотром взрослых.