Индикатор выходной мощности

В индикаторах выходной мощности усилителей звуковой частоты радиолюбители обычно используют стрелочные приборы и светодиоды. Однако с не меньшим успехом в подобных устройствах можно применять многоразрядные вакуумные люминесцентные индикаторы ИВ-18, ИВ-21, ИВ-27, ИВ-28 и т. п., причем одного такого прибора достаточно для индикации выходной мощности обоих каналов стереофонического усилителя. Это оказывается возможным, если для индикации мощности одного из каналов использовать верхние сегменты знаков, а другого - нижние.

В предлагаемом вниманию читателей устройстве можно использовать любой из указанных выше люминесцентных индикаторов. Минимальная регистрируемая им мощность равна 1 Вт, динамический диапазон - около 17 дБ. Число регистрируемых уровней мощности за-висит от типа индикатора: при использовании индикаторов ИВ-18. ИВ-21 оно равно 8, а индикаторов ИВ-28Д и НВ-27 - соответственно 9 и 14.

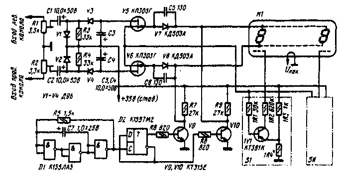
Принципиальная схема устройства показана на рисунке. Оно состоит из входных делителей напряжения сигналов левого (R1) и правого (R2) каналов, двух выпрямителей (V1, V3 и V2, V4), коммутатора (V5, V6), генератора тактовых импульсов (D1, D2, V9, V10), набора (по числу регистрируемых значений мощности) электронных ключей S1-SN и индикатора HI. Контролируемые сигналы с выходов выпрямителей поступают на коммутатор, который поочередно, с частотой около 40 Гц (чтобы не было заметно мерцание сегментов индикатора), подает их на входы электронных ключей S1-SN. Частоту коммутации задает генератор тактовых импульсов, состоящий из собственно генератора на инверторах микросхемы D1, триггера D2, работающего в режиме деления частоты на 2, и ключей на транзисторах V9, V10. Введение триггера D2 обусловлено необходимостью получения противофазных импульсов со скважностью, равной 2 (в противном случае яркость свечения сегментов в каналах была бы неодинаковой). Импульсы с выхода триггера поочередно открывают транзисторы V9, V10, и сегменты индикатора, подключенные к коллектору открытого в данный момент транзистора, оказываются соединенными с общим проводом. Одновременно на сегменты, соединенные с коллектором закрытого транзистора, подается напряжение питания, и те из них. которые расположены под сетками, соединенными с открытыми транзисторами ключей S1--SN, начинают светиться.

Каждый из ключей (на рисунке изображена схема первого из этих устройств - S1) срабатывает при определенном напряжении сигнала на базе его транзистора. Порог срабатывания зависит от напряжения на эмиттере, которое задано делителем напряжения, состоящим в первом ключе из резисторов 1R3, 1R4, во втором -- из резисторов 2R3, 2R4 и т. д. При напряжении сигнала на выходе коммутатора, превышающем потенциал эмиттера примерно на 0,6 В. транзистор 1V1 отбывается и напряжение с делители 1R31R4 через его участок эмиттер коллектор и резистор 1R2 подается на первую сетку индикатора H1. В результате расположенный под ней сегмент из ряда, на который подано напряжение питания, начинает светиться. В следующий момент напряжение питания поступает на сегменты другого ряда и если сигнал в другом канале усилителя имеет такой же или больший уровень, то начинает светиться и первый сегмент этого ряда. По мере увеличения уровней сигналов в каналах срабатывают ключи S2, S3 и т. д. и на индикаторе наблюдаются две линейки светящихся сегментов.

При заданном напряжении питания Uпит и сопротивлении резисторов 1R3 - NR3, равном 1 кОм, сопротивления резисторов 1R4--NR4 (в килоомах) рассчитывают по формуле

где напряжение срабатывания Uср= =VР (Р - выходная мощность в ваттах). Выбирать напряжение Ucp больше 8 В (для ключа SN) не рекомендуется, так как иначе яркость свечения первого и последнего сегментов в линейках будет заметно разной. На практике значения напряжений Ucp целесообразно ограничить пределами 1 и 7,1 В, что соответствует регистрируемой мощности от 1 до 50 Вт.

Детали. В индикаторе можно использовать практически любые малогабаритные резисторы и конденсаторы. Диоды Д9Б можно заменить любыми другими из серий Д2 н Д9, транзисторы КП303Г - другими из этой серии. Допустима замена транзисторов КТ315Е и КТ361К на любые маломощные кремниевые транзисторы соответствующей структуры с допустимым напряжением между эмиттером и коллектором не менее 35 В и статическим коэффициентом передачи тока h21э не менее 100.

Налаживание устройства начинают с полбора резисторов 1R4--NR4, добиваясь того, чтобы напряжения на эмиттерах транзисторов 1V1 -NV1 (относительно плюсового вывода источника питания) стали равны расчетным значениям Ucp-0,6. Затем на вход левого канала индикатора подают сигнал частотой 1000 Гц и напряжением, соответствующим максимальной регистрируемой мощности (для выходной мощности 50 Вт на нагрузке сопротивлением 4 Ом - примерно 14.7 В) и подстроечным резистором R1 добиваются свечения всех сегментов соответствующего ряда на индикаторе H1. Аналогично калибруют и правый канал.

Для повышения контрастности изображения светящихся линеек перед индикатором необходимо установить зеленый светофильтр.

С. ФЕДОРОВ, г. Малая Вишера, Новгородской обл.

(РАДИО N 3, 1983)

Обсудить эту статью на форуме (0 ответов).
Вся информация, предоставленная на данном ресурсе разрешена к ознакомлению детям школьного возраста. Все практическое использование может быть связана с повышенной электрической опасностью и разрешено детям только под присмотром взрослых.