Генератор тока стирания и подмагничивания

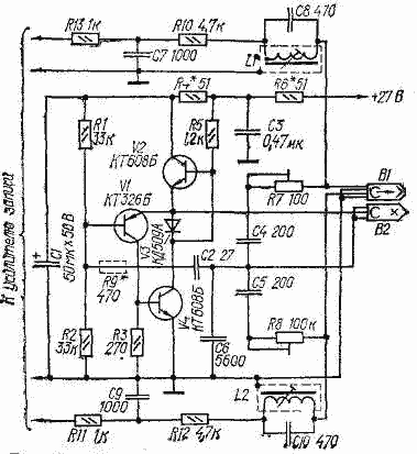
http://www.radio-portal.ru/images/stories/pictures/r4-10.pngГенератор тока стирания и подмагничивания предназначен для стереофонического катушечного магнитофона и рассчитан на работу со стирающей головкой от магнитофона "Яуза-212" (индуктивность около 8 мГн, ток стирания 85 мА, относительный уровень стирания на частоте 1000 Гц около -65 дБ) и записывающей головкой 6А24Н.ЗУ (индуктивность 15 25 мГн, ток подмагничивания не более 3,5 мА). Частота генерируемых колебаний около 70 кГц.

Генератор - двухкаскадный. Каскад на транзисторе VI повышает входное сопротивление и позволяет использовать в выходном каскаде (V2, V4) транзисторы со сравнительно небольшим статическим коэффициентом передачи тока Колебательный контур генератора образован обмотками стирающей головки В2 и конденсатором С6.

Кроме указанных на схеме, в генераторе можно использовать транзисторы КТ203В, КТ351В (VI), КТ603Б и КТ616А (V2, V4).

Сопротивление резистора R5 рассчитывают, исходя из коэффициента передачи h21э транзистора V2: R5 = h21ЭV2R4/2.

Катушки L1 и L2 фильтров-пробок намотаны на стандартных трехсекционных каркасах (до заполнения) проводом ПЭВ-1 - 0,09 и помещены в ферритовые (600НН) чашки внешним диаметром 8,6 мм. Подстроечники - типоразмера СС2, 8 X 12 из того же материала.

Необходимый ток стирания устанавливают в собранном магнитофоне подбором резистора R6. Паразитное самовозбуждение генератора на очень высоких частотах устраняют подбором резистора R9.
Обсудить эту статью на форуме (0 ответов).
Вся информация, предоставленная на данном ресурсе разрешена к ознакомлению детям школьного возраста. Все практическое использование может быть связана с повышенной электрической опасностью и разрешено детям только под присмотром взрослых.