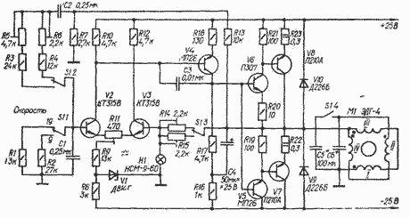
Генератор для питания двигателя ведущего узла исключает необходимость наличия в магнитофоне механического переключателя скорости ленты и позволяет плавно регулировать скорость до получения номинальных значений. Устройство рассчитано на работу с асинхронным электродвигателем ЭДГ-4, перемотанным на напряжение 15 В.
Устройство представляет собой мощный усилитель ЗЧ, охваченный цепями ПОС и ООС. Напряжение первой из них подается в цепь базы транзистора V2, второй - в цепь транзистора V3. В положении переключателя S1, показанном на схеме, генератор вырабатывает синусоидальное напряжение частотой 50 Гц, а при переводе переключателя в другое положение - частотой 25 Гц. Стабилизация амплитуды генерируемых колебаний осуществляется лампой накаливания HI. Электродвигатель подключен непосредственно к выходу оконечного каскада (V7, V8).
Электродвигатель дорабатывают следующим образом. Сняв верхнюю и нижнюю крышки-подшипники, вынимают ротор и с помощью деревянного бруска осторожно выбивают статорное кольцо. Сняв после этого катушки статора, удаляют обмотки и на их место на каждый каркас наматывают по 230 витков провода ПЭВ-2 - 0,3....0,4. Катушки следует наматывать в одном направлении, обязательно отмечая начала и концы обмоток. Собирают электродвигатель в обратном порядке. Катушки соединяют в соответствии со схемой, показанной на рисунке (начала обмоток отмечены точками). Емкость конденсаторов С5*, С6* подбирают таким образом, чтобы напряжения на основной (I, III) и дополнительной (II, IV) обмотках стали одинаковыми. Во избежание перегрева обмоток глубину ООС при работе генератора на частоте 25 Гц следует подобрать такой (подстроечным резистором R15), чтобы напряжение на электродвигателе было равно 10,7 В.
Точное значение скоростей ленты устанавливают изменением сопротивлений подстроечных резисторов R5 (9,53 см/с) и R6 (19,05 см/с).