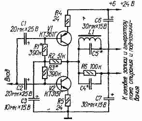
Выходной каскад усилителя записи с динамической нагрузкой

Выходной каскад усилителя записи с динамической нагрузкой обеспечивает неизменный ток записи во всем рабочем диапазоне частот.

Основные параметры
Номинальный диапазон частот, Гц
10...100 000
Входное сопротивление, кОм
3
Выходное сопротивление, кОм
30...50
Максимальное выходное напряжение, В
2; 3; 4; 8
Коэффициент усиления при сопротивлении нагрузки, кОм:
5,1
80; 100; 115; 160
1
17, 22; 25; 35
Коэффициент гармоник, % (при входном напряжении 5 мВ и работе на головку 6Д24Н.10) на частотах:
высших (16 кГц)
0,4
низших
1,6
Потребляемый ток, мА
0,6; 1; 1,4; 3,5
*При напряжении питания 6, 9, 12; 24 В.

Каскад выполнен на транзисторах разной структуры. Записывающая головка (на схеме не показана) включена в диагонали моста, образованного участками эмиттер - коллектор транзисторов VI, V2 и конденсаторами С6, С7, что исключает возможность намагничивания ее магнитопровода коммутационными токами и токами утечки конденсаторов.

В устройстве можно использовать кремниевые транзисторы серий К.Т502 и КТ503, КТ814 и КТ815, а также германиевые транзисторы МП38А и МП41А, МП37Б и МП40А с одинаковыми статическими коэффициентами передачи тока h21э. http://www.radio-portal.ru/images/stories/pictures/r4-9.pngПотребляемый ток и симметричность ограничения полуволн усиливаемого сигнала устанавливают подбором резисторов R1, R3.

Для устранения самовозбуждения каскада увеличивают сопротивление резисторов R4, R5 или заменяют транзисторы другими, с меньшим коэффициентом h21э. Фильтр-пробку L1C5* настраивают на частоту генератора тока подмагничивания, а контур, образованный обмоткой записывающей головки и конденсатором С4*,- на высшую частоту рабочего диапазона. В некоторых случаях для улучшения качества записи последовательно с фильтром L1C5 включают резистор сопротивлением l┘2 кОм.

Для нормальной работы устройства необходимо, чтобы выходное сопротивление предшествующего каскада не превышало 1 кОм.

Каскад может работать практически с любой записывающей или универсальной головкой (при необходимости лишь увеличивают напряжение питания). Во избежание фона переменного тока питать каскад необходимо от источника с малым напряжением пульсаций.

Обсудить эту статью на форуме (0 ответов).
Вся информация, предоставленная на данном ресурсе разрешена к ознакомлению детям школьного возраста. Все практическое использование может быть связана с повышенной электрической опасностью и разрешено детям только под присмотром взрослых.