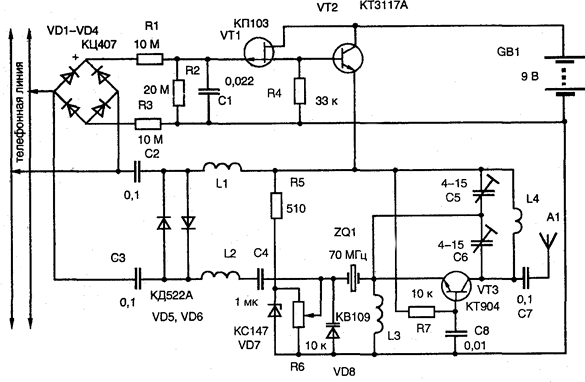
Телефонный жучок с кварцевой стабилизацией

 

 

 

 

Передача идет только при сняти телефонной трубки.
Диапазон - 65...108 МГц - зависит от частоты кварцевого резонатора;
Дальность - до 600 м;
Антенна - кусок провода 30...50 см, свернутый спирально.
L1, L2 - 100 витков ПЭЛ 0,1 на резисторе МЛТ 0,25 > 100 кОм;
L3 - 7 витков ПЭЛ 0,8 d=8 мм;
L4 - 7 витков ПЭЛ 0,8 d=8мм.

 

 

 

 

 

 

 

 

Обсудить эту статью на форуме (0 ответов).
Вся информация, предоставленная на данном ресурсе разрешена к ознакомлению детям школьного возраста. Все практическое использование может быть связана с повышенной электрической опасностью и разрешено детям только под присмотром взрослых.