Работа этого замка основана на использовании постоянных магнитов и герконов. Это позволяет получить надежные с точки зрения устойчивости работы замки и ключи.
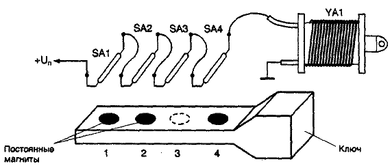
Замок состоит из четырех герконов SA1, SA2, SA3, SA4 и электромагнита YA1. Причем, герконы SA1, SA2, SA4 имеют нормально разомкнутые контакты, а геркон SA3 - нормально замкнутые. Герконы могут устанавливаться в произ-вольной последовательности, количество их может быть различным, что способствует повышению секретности замка. Замок и ключ имеют следующую конструкцию .
Герконы SA1 - SA4 устанавливаются вдоль отверстия, в которое вставляется
ключ с постоянными магнитами. Расстояние между магнитами и герконами должно
быть не более 5 мм. Расстояние между герконами должно быть равно расстоянию
между центрами магнитов ключа. После того как ключ будет вставлен в отверстие
замка до упора, магниты 1, 2, 4 будут находиться напротив герконов SA1,
SA2, SA4 соответственно, что приведет к замыканию контактов последних. Поскольку
контакты геркона SA3 замкнуты (магнит на него не воздействует), через обмотку
электромагнита YA1 начинает протекать ток, вызывая его срабатывание. Если
кто-нибудь попытается открыть такой замок, вставив вместо магнитного ключа
магнит подходящего размера, то это приведет к срабатыванию всех герконов.
При этом котакты геркона SA3 разомкнутся и прервут цепь питания электромагнита
YA1. Замок останется в закрытом состоянии. |
Замок с магнитным ключом
Doc
Просмотров: 7081

