В последнее время большое распространение получило вещание телевидения на ДМВ. Однако из-за малых мощностей ретрансляторов, специфики распространения ДМВ и низкой чувствительности телевизоров зоны уверенного приема телесигналов небольшие. Приходится применять сложные антенны с большим усилением и малошумящие антенные усилители. Предлагаемый антенный усилитель несложен по конструкции, прост в наладке и имеет следующие параметры:
Полоса усиливаемых частот, . . . . 470...790 МГц
Неравномерность АЧХ, . . . . . . . 3 Дб
Коэффициент усиления,. . . . . . . 12 Дб
Входное сопротивление. . . . . . . 75 Ом
Выходное сопротивление . . . . . . 75 Ом
Напряжение питания,. . . . . . . . 12 B
Потребляемый ток, . . . . . . . . 12 mA


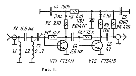
Входная цепь (рис. 1), выполненная в виде Т-образного фильтра верхних частот и состоящая из элементов Cl, C2, L1 и L2, обеспечивает согласование усилителя с антенной. Два каскада усиления собраны по схеме с общим эмиттером. Стабилизация режимов транзисторов по постоянному току осуществляется с помощью отрицательных обратных связей через резисторы R1 и R4. Такая схема стабилизации позволяет непосредственно заземлить эмиттерные выводы транзисторов, что обеспечивает высокий устойчивый коэффициент усиления каскадов. Малые сопротивления резисторов нагрузок каскадов исключают возможность возбуждения усилителя на низких частотах. Питание усилителя осуществляется по сигнальному кабелю напряжением +12В от СКД телевизора, согласно рис. 2. Дроссель L3 и конденсатор С7 предназначены для разделения постоянного напряжения и высокочастотного сигнала. В усилителе постоянное напряжение через резистор R6 питает его каскады, а высокочастотный сигнал через конденсатор С6 подается в кабель снижения.
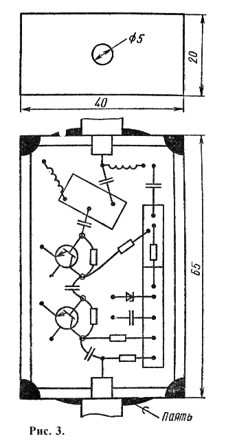
Усилитель смонтирован на плате размерами 60x37мм, изготовленной из фольгированного стеклотекстолита толщиной 1,5...2 мм. Транзисторы вставлены в отверстия диаметром 6мм, просверленные в плате, а монтаж выполнен на опорных точках, вырезанных резаком в фольге (рис. 3). Катушка L1, конденсаторы С1, С6 и резистор R6 подпаиваются одним концом непосредственно к центральной жиле кабеля. Экранирующий корпус изготавливают из меди толщиной 0,2...0,4 мм. Плата подпаивается в нескольких точках к стенкам корпуса. Экранирующие оплетки кабелей припаиваются непосредственно к корпусу. Вход и выход кабелей из корпуса дополнительно герметизируется клеем “суперцемент” или аналогичным, водостойким.
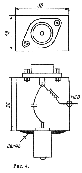
Фильтр разделения напряжения питания и высокочастотного сигнала конструктивно следует собрать в отдельном медном корпусе (рис. 4). С одной стороны на корпусе укреплено гнездо для подключения кабеля снижения антенны, а с другой — штекер для подключения непосредственно к гнезду антенного входа телевизора. Опорную точку для подведения напряжения питания можно изготовить из стеклянного изолятора выводов бумажного конденсатора МБГЧ-1 или аналогичного.


В усилителе могут быть применены резисторы МЛТ-0,125, МЛТ-0,25, конденсаторы КМ, КД, КПК-МН, транзисторы ГТ329, ГТ341, ГТ361, КТ372, дроссель L3 - ДМ 0,1-10 или же двадцать витков провода ПЭЛШО-0,1 намотанных на стержне Ф600 2,74Х12,7 мм. Катушки L1 и L2 бескаркасные, L1 имеет 10 витков провода ПЭЛ-0,5, а L2 — 2 витка провода ПЭЛ-0,8, намотка рядовая, на оправке диаметром 5 мм.
Настройка антенного усилителя не вызывает затруднений. Подбором резисторов R1 и R4 устанавливают токи транзисторов VT1 и VT2 соответственно 3 и 5 мА. Конденсатор С2 подстраивают по наилучшему качеству изображения. После настройки усилителя на корпус надевается крышка из меди и пропаивается по всему периметру. Усилитель необходимо установить в непосредственной близости от антенны.