- Спасибо получено: 0
открыватель двери на ик лучах
- DoctorZlo
-
Автор темы
Less
Больше
07 мая 2007 19:00 #1
от DoctorZlo
DoctorZlo создал тему: открыватель двери на ик лучах
У меня к вам такая просьба не могли бы
помочь мне найти принципиальную схему автоматического открывателя двери
на ик-лучах, а то у меня курсовая горит. Я весь инет обшарил и именно о
двери ничего не нашел.
помочь мне найти принципиальную схему автоматического открывателя двери
на ик-лучах, а то у меня курсовая горит. Я весь инет обшарил и именно о
двери ничего не нашел.
Пожалуйста Войти или Регистрация, чтобы присоединиться к беседе.
- Doc
-
- Не в сети
08 мая 2007 09:59 #2
от Doc
Малое знание опасно, впрочем, как и большое....
Doc ответил в теме открыватель двери на ик лучах
как понять инфрокрасного открывателя?
всмысле чтобы замок открывал с пульта
или чтобы двель открывалась при приближени человека?
всмысле чтобы замок открывал с пульта
или чтобы двель открывалась при приближени человека?
Малое знание опасно, впрочем, как и большое....
Пожалуйста Войти или Регистрация, чтобы присоединиться к беседе.
- Звук
-
Less
Больше
- Спасибо получено: 0
08 мая 2007 17:13 #3
от Звук
Звук ответил в теме открыватель двери на ик лучах
У меня есть схемка ПДУ, но надо тогда ещё придумать приспособление, которое будет открывать ту или иную дверь.
Пожалуйста Войти или Регистрация, чтобы присоединиться к беседе.
- Doc
-
- Не в сети
08 мая 2007 20:51 #4
от Doc
Малое знание опасно, впрочем, как и большое....
Doc ответил в теме открыватель двери на ик лучах
оптяь спрашиваю запор открывать или саму дверь?
если запро то подойдет обычныйый элэктромогнит
если двесь то в продаже имеються сереро приводы для разного способа , раздвежных или распошонок, как тебе нужно
если запро то подойдет обычныйый элэктромогнит
если двесь то в продаже имеються сереро приводы для разного способа , раздвежных или распошонок, как тебе нужно
Малое знание опасно, впрочем, как и большое....
Пожалуйста Войти или Регистрация, чтобы присоединиться к беседе.
- DoctorZlo
-
Автор темы
Less
Больше
- Спасибо получено: 0
14 мая 2007 14:50 #5
от DoctorZlo
DoctorZlo ответил в теме открыватель двери на ик лучах
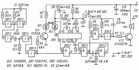
Извините,что долго не отвечал, комп полетел. Дверь, которая окрывается при приближении человека! у меня есть схемка обнаружения человека, но там надо вместо звукового генератора(DD2.4, DD1.6) и динамика(НА1) поставить движок и таймер или что-то еще, чтобы открывалась дверь. Тока я не знаю как это сделать.
Вложения:
Пожалуйста Войти или Регистрация, чтобы присоединиться к беседе.
Модераторы: Doc