Счетчики ИЕ

В состав рассматриваемых серий микросхем входит большое количе-ство счетчиков различных типов, большинство из которых работает в весовых кодах.

Счетчики 2-3-21.jpg

Счетчики 2-3-21.jpg

Микросхема К176ИЕ1 (рис. 172) - шестиразрядный двоичный счетчик, работающий в коде 1-2-4-8-16-32. Микросхема имеет два входа: вход R - установки триггеров счетчика в 0 и вход С - вход для подачи счетных импульсов. Установка в 0 происходит при подаче лог. 1 на вход R, переключение триггеров микросхемы - по спаду импульсов положительной полярности, подаваемых на вход С. При построении

Счетчики 2-3-22.jpg

многоразрядных делителей частоты входы С микросхем следует подключать к выходам 32 предыдущих.

Микросхема К176ИЕ2 (рис. 173) - пятиразрядный счетчик, который может работать как двоичный в коде 1-2-4-8-16 при подаче лог. 1 на управляющий вход А, или как декада с подключенным к выходу декады триггером при лог. 0 на входе А. Во втором случае код работы счетчика 1-2-4-8-10, общий коэффициент деления - 20. Вход R служит для установки триггеров счетчика в 0 подачей на этот вход лог. 1. Первые четыре триггера счетчика могут быть установлены в единичное состояние подачей лог. 1 на входы SI - S8. Входы S1 - S8 являются преобладающими над входом R.

Микросхема К176ИЕ2 встречается двух разновидностей. Микросхемы ранних выпусков имеют входы СР и CN для подачи тактовых импульсов положительной и отрицательной полярности соответственно, включенные по ИЛИ. При подаче на вход СР импульсов положительной полярности на входе CN должна быть лог. 1, при подаче на вход CN импульсов отрицательной полярности на входе СР должен быть лог. 0. В обоих случаях счетчик переключается по спадам импульсов.

Другая разновидность имеет два равноправных входа для подачи тактовых импульсов (выводы 2 и 3), собранных по И. Счет происходит по спадам импульсов положительной полярности, подаваемых на любой из этих входов, причем на второй из этих входов должна быть подана лог. 1. Можно подавать импульсы и на объединенные выводы 2 и 3. Исследованные автором микросхемы, выпущенные в феврале и ноябре 1981 г., относятся к первой разновидности, выпущенные в июне 1982 г. и июне 1983 г., - ко второй.

Если на вывод 3 микросхемы К176ИЕ2 подать лог. 1, обе разновидности микросхем по входу СР (вывод 2) работают одинаково.

При лог. 0 на входе А порядок работы триггеров соответствует временной диаграмме, приведенной на рис. 174. В этом режиме на выходе Р, представляющем собой выход элемента И-НЕ, входы которого подключены к выходам 1 и 8 счетчика, выделяются импульсы отрицательной полярности, фронты которых совпадают со спадом каждого девятого входного импульса, спады - со спадом каждого десятого.

При соединении микросхем К176ИЕ2 в многоразрядный счетчик входы СР последующих микросхем следует подключать к выходам 8 или 16/10 непосредственно, на входы CN подавать лог. 1. В момент включения напряжения питания триггеры микросхемы К176ИЕ2 могут установиться в произвольное состояние. Если при этом счетчик включен в режим десятичного счета, то есть на вход А подан лог. 0, а это состояние более 11, счетчик "зацикливается" между состояния-ми 12-13 или 14-15. При этом на выходах 1 и Р формируются им-пульсы с частотой, в 2 раза меньшей частоты входного сигнала. Для того чтобы выйти из такого режима, счетчик необходимо установить в нулевое состояние подачей импульса на вход R. Можно обеспечить надежную работу счетчика в десятичном режиме, соединив вход А с выходом 4. Тогда, оказавшись в состоянии 12 или большем, счетчик переходит в режим двоичного счета и выходит из "запретной зоны", устанавливаясь после состояния 15 в нулевое. В моменты перехода из состояния 9 в состояние 10 на вход А с выхода 4 поступает лог. 0 и счетчик обнуляется, работая в режиме десятичного счета.

Счетчики 2-3-23.jpg

Для индикации состояния декад, использующих микросхему К176ИЕ2, можно использовать газоразрядные индикаторы, управляемые через дешифратор К155ИД1. Для согласования микросхем К155ИД1 и К176ИЕ2 можно использовать микросхемы К176ПУ- либо К561ПУ4 (рис. 175, а) или транзисторы р-n-р (рис. 175, б).

Микросхемы К176ИЕ- (рис. 176), К176ИЕ4 (рис. 177) и К176ИЕ5 разработаны специально для использования в электронных часах с семисегментными индикаторами. Микросхема К176ИЕ4 (рис. 177) -декада с преобразователем кода счетчика в код семисегментного индикатора. Микросхема имеет три входа - вход R, установка триггеров счетчика в 0 происходит при подаче лог. 1 на этот вход, вход С - переключение триггеров происходит по спаду импульсов положительной

Счетчики 2-3-24.jpg

Счетчики 2-3-24.jpg

полярности на этом входе. Сигнал на входе S управляет полярностью выходных сигналов.

На выходах а, b, с, d, e, f, g - выходные сигналы, обеспечивающие формирование цифр на семисегментном индикаторе, соответствующих состоянию счетчика. При подаче лог. 0 на управляющий вход S лог. 1 на выходах а, Ь, с, d, e, f, g соответствуют включению соответствующего сегмента. Если же на вход S подать лог. 1, включению сегментов будет соответствовать лог. 0 на выходах а, Ь, с, d, e, f, g. Возможность переключения полярности выходных сигналов существенно расширяет область применения микросхем.

Счетчики 2-3-25.jpg

Выход Р микросхемы - выход переноса. Спад импульса положительной полярности на этом выходе формируется в момент перехода счетчика из состояния 9 в состояние 0.

Следует иметь в виду, что разводка выводов а, Ь, с, d, e, f, g в паспорте микросхемы и в некоторых справочниках приведена для нестандартного расположения сегментов индикаторов. На рис. 176, 177 дана разводка выводов для стандартного расположения сегментов, приведенного на рис. 111.

Два варианта подключения к микросхеме К176ИЕ4 вакуумных семисегментных индикаторов при помощи транзисторов приведено на рис. 178. Напряжение накала Uh выбирается в соответствии с типом используемого индикатора, подбором напряжения +25...30 В в схеме рис. 178 (а) и -15...20 В в схеме рис. 178 (б) можно в некоторых пределах регулировать яркость свечения сегментов

индикатора. Транзисторы в схеме рис. 178 (6) могут быть любыми кремниевыми р-n-р с обратным током коллекторного перехода, не превышающим 1 мкА при напряжении 25 В, Если обратный ток транзис-торов больше указанной величины или используются германиевые транзисторы, между анодами и одним из выводов нити накала индикатора необходимо включить резисторы 30...60 кОм.

Для согласования микросхемы К176ИЕ4 с вакуумными индикаторами удобно, кроме того, использовать микросхемы К168КТ2Б или К168КТ2В (рис. 179), а также КР168КТ2Б.В, К190КТ1, К190КТ2, К161КН1, К161КН2. Подключение микросхем К161КН1 и К161КН2 проиллюстрировано на рис. 180. При использовании инвертирующей микросхемы К161КН1 на вход S микросхемы К176ИЕ4 следует подать лог. 1, при использовании неинвертирующей микросхемы К161КН2 - лог. 0.

Счетчики 2-3-26.jpg

Счетчики 2-3-27.jpg

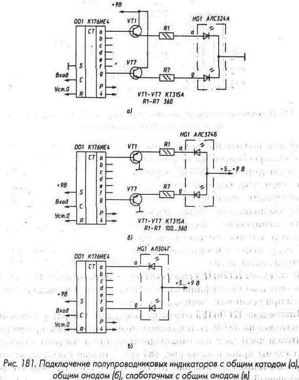
На рис. 181 показаны варианты подключения к микросхеме К176ИЕ4 полупроводниковых индикаторов, на рис. 181 (а) с общим катодом, на рис. 181 (б) - с общим анодом. Резисторами R1 - R7 устанавливается необходимый ток через сегменты индикатора.

Самые маленькие индикаторы могут быть подключены к выходам микросхемы непосредственно (рис. 181, в). Однако из-за большого разброса тока короткого замыкания микросхем, не нормируемого техническими условиями, яркость свечения индикаторов может также иметь большой разброс. Частично его можно компенсировать подбором напряжения питания индикаторов.

Для согласования микросхемы К176ИЕ4 с полупроводниковыми индикаторами с общим анодом можно использовать микросхемы К176ПУ1, К176ПУ2, К176ПУ-, К561ПУ4, КР1561ПУ4, К561ЛН2 (рис. 182). При использовании неинвертирующих микросхем на вход S микросхемы следует подать лог. 1, при использовании инвертирующих - лог. 0.

Счетчики 2-3-28.jpg

Счетчики 2-3-29.jpg

По схеме рис 181 (б), исключив резисторы R1 - R7, можно подключить и накальные индикаторы, при этом напряжение питания индикаторов необходимо установить примерно на 1 В больше номи-нального для компенсации падения напряжения на транзисторах Это напряжение может быть как постоянным, так и пульсирующим, полученным в результате выпрямления без фильтрации

Жидкокристаллические индикаторы не требуют специального согласования, но для их включения необходим источник прямоугольных импульсов с частотой 30 100 Гц и скважностью 2, амплитуда импульсов должна соответствовать напряжению питания микросхем

Счетчики 2-3-210.jpg

Счетчики 2-3-210.jpg

Счетчики 2-3-211.jpg

Импульсы подаются одновременно на вход S микросхемы и на общий электрод индикатора (рис. 183) В результате на сегменты, которые необходимо индицировать, относительно общего электрода индикатора подается напряжение меняющейся полярности, на сегментах, которые не надо индицировать, напряжение относительно общего электрода равно нулю

Микросхема К176ИЕ- (рис 176) отличается от К176ИЕ4 тем, что ее счетчик имеет коэффициент пересчета 6, а лог 1 на выходе 2 появляется при установке счетчика в состояние 2

Микросхема К176ИЕ5 содержит кварцевый генератор с внешним резонатором на 32768 Гц и подключенным к нему девятиразрядным делителем частоты и шестиразрядный делитель частоты, структура микросхемы приведена на рис 184 (а) Типовая схема включения микросхемы приведена на рис 184 (б) К выводам Z и Z подключаются кварцевый резонатор, резисторы R1 и R2, конденсаторы С1 и С2 Выходной сигнал кварцевого генератора может быть проконтролирован на выходах К и R Сигнал с частотой 32768 Гц поступает на вход девятиразрядного двоичного делителя частоты, с его выхода 9 сигнал с частотой 64 Гц может быть подан на вход 10 шестиразрядного делителя На выходе 14 пятого разряда этого делителя формируется частота 2 Гц, на выходе 15 шестого разряда - 1 Гц. Сигнал с частотой 64 Гц может использоваться для подключения жидкокристаллических индикаторов к выходам микросхем К176ИЕ- и К176ИЕ4

Вход R служит для сброса триггеров второго делителя и установки исходной фазы колебаний на выходах микросхемы. При подаче

Счетчики 2-3-212.jpg

лог. 1 на вход R на выходах 14 и 15 - лог. 0, после снятия лог. 1 на этих выходах появляются импульсы с соответствующей частотой, спад пер-вого импульса на выходе 15 происходит через 1 с после снятия лог. 1.

При подаче лог. 1 на вход S происходит установка всех триггеров второго делителя в состояние 1, после снятия лог. 1 с этого входа спад первого импульса на выходах 14 и 15 происходит практически сразу. Обычно вход S постоянно подключают к общему проводу.

Конденсаторы С1 и С2 служат для точной установки частоты кварцевого генератора. Емкость первого из них может находиться в пределах от единиц до ста пикофарад, емкость второго - -0...100 пф. При увеличении ёмкости конденсаторов частота генерации уменьшается. Точную установку частоты удобнее производить при помощи подстроечных конденсаторов, подключенных параллельно С1 и C2. При этом конденсатором, подключенным параллельно С2, осуществляют грубую настройку, подключенным параллельно С1 - точную.

Сопротивление резистора R 1 может находиться в пределах 4,7...68 МОм, однако при его значении менее 10 МОм возбуждаются

Счетчики 2-3-213.jpg

не все кварцевые резонаторы.

Микросхемы К176ИЕ8 и К561ИЕ8- десятичные счетчики с дешифратором (рис. 185). Микросхемы имеют три входа - вход установки исходного состояния R, вход для подачи счетных импульсов отрицательной полярности CN и вход для подачи счетных импульсов положительной полярности СР. Установка счетчика в 0 происходит при подаче на вход R лог. 1, при этом на выходе 0 появляется лог. 1, на выходах 1-9 - лог. 0.

Счетчики 2-3-214.jpg

Переключение счетчика происходит по спадам импульсов отрицательной полярности, подаваемых на вход CN, при этом на входе СР должен быть лог. 0. Можно также подавать импульсы положительной полярности на вход СР, переключение будет происходить по их спадам. На входе CN при этом должна быть лог. 1. Временная диаграмма работы микросхемы приведена на рис. 186.

Микросхема К561ИЕ9 (рис. 187) - счетчик с дешифратором, работа микросхемы аналогична работе микросхем К561ИЕ8

Счетчики 2-3-215.jpg

и К176ИЕ8, но коэффициент пересчета и число выходов дешифратора 8, а не 10. Временная диаграмма работы микросхемы приведена на рис. 188. Также, как и микросхема К561ИЕ8, микросхема:

К561ИЕ9 построена на основе сдвигающего регистра с перекрестными связями. При подаче напряжения питания и отсутствии импульса сброса. триггеры этих микросхем могут стать в произвольное состояние, не соответствующее разрешен

ному состоянию счетчика. Однако в указанных микросхемах есть спе-циальная цепь формирования разрешенного состояния счетчика, и при подаче тактовых импульсов счетчик через несколько тактов перейдет в нормамльный режим работы. Поэтому в делителях частоты, в которых точная фаза выходного сигнала не важна, допустимо не подавать на входы R микросхем К176ИЕ8, К561ИЕ8 и К561ИЕ9 импульсы начальной установки.

Микросхемы К176ИЕ8, К561ИЕ8, К561ИЕ9 можно объединять в многоразрядные счетчики с последовательным переносом, соединяя выход переноса Р предыдущей микросхемы с входом CN последующей и подавая на вход СР лог. 0. Возможно также соединение старшего

Счетчики 2-3-216.jpg

выхода дешифратора (7 или 9) со входом СР следующей микросхемы и подача на вход CN лог. 1. Такие способы соединения приводят к на-коплению задержек в многоразрядном счетчике. Если необходимо, чтобы выходные сигналы микросхем многоразрядного счетчика изменялись одновременно, следует использовать параллельный перенос с введением дополнительных элементов И-НЕ. На рис. 189 показана схема трехдекадного счетчика с параллельным переносом. Инвертор DD1.1 необходим лишь для того, чтобы компенсировать задержки в элементах DD1.2 и DD1.3. Если высокая точность одновременности переключения декад счетчика не требуется, входные счетные импульсы можно подать на вход СР микросхемы DD2 без инвертора, а на вход CN DD2 - лог.1. Максимальная рабочая частота многоразрядных счетчиков как с последовательным, так и с параллельным переносом не снижается относительно частоты работы отдельной микросхемы.

На рис. 190 приведен фрагмент схемы таймера с использованием микросхем К176ИЕ8 или К561ИЕ8. В момент пуска на вход CN микросхемы DD1 начинают поступать счетные импульсы. Когда микросхемы счетчика установятся в положения, набранные на переключателях, на всех входах элемента И-НЕ DD3 появятся лог. 1, элемент

Счетчики 2-3-217.jpg

Счетчики 2-3-217.jpg

Счетчики 2-3-218.jpg

DD3 включится, на выходе инвертора DD4 появится лог. 1, сигнализирующая об окончании временного интервала.

Микросхемы К561ИЕ8 и К561 ИЕ9 удобно использовать в делителях частоты с переключаемый коэффициентом деления. На рис. 191 приведен пример трехдекадного делителя частоты. Переключателем SA1 устанавливают единицы необходимого коэффициента пересчета, переключателем SA2 - десятки, переключателем SA3 - сотни. При достижении счетчиками DD1 - DD3 состояния, соответствующего положениям переключателей, на все входы элемента DD4.1 приходит лог. 1. Этот элемент включается и устанавливает триггер на элементах DD4.2 и DD4.3 в состояние, при котором на выходе элемента DD4.3 появляется лог. 1, сбрасывающая счетчики DD1 - DD3 в исходное состояние (рис. 192). В результате на выходе элемента DD4.1 также появляется лог. 1 и следующий входной импульс отрицательной полярности устанавливает триггер DD4.2, DD4.3 в исходное состояние, сигнал сброса со входов R микросхем DD1 - DD3 снимается и счетчик продолжает счет.

Триггер на элементах DD4.2 и DD4.3 гарантирует сброс всех микросхем DD1 - DD3 при достижении счетчиком нужного состояния. При его отсутствии и большом разбросе порогов переключения микросхем

Счетчики 2-3-219.jpg

DD1 - DD3 по входам R возможен случай, когда одна из микросхем DD1 - DD3 устанавливается в 0 и снимает сигнал сброса со входов R остальных микросхем ранее, чем сигнал сброса достигнет порога их переключения. Однако такой случай маловероятен, и обычно можно обойтись без триггера, точнее, без элемента DD4.2.

Счетчики 2-3-220.jpg

Для получения коэффициента пересчета менее 10 для микросхемы К561ИЕ8 и менее 8 для К561ИЕ9 можно соединить выход дешифратора с номером, соответствующим необходимому коэффициенту пересчета, со входом R микросхемы непосредственно, например, как это показано на рис. 193 (а) для коэффициента пересчета, равного 6. Временная

Счетчики 2-3-221.jpg

диаграмма работы этого делителя приведена на рис. 193 (6). Сигнал переноса можно снимать с выхода Р лишь в случае, если коэффициент пересчета составляет 6 и более для К561ИЕ8 и 5 и более для К561ИЕ9. При любом коэффициенте сигнал переноса можно снимать с выхода дешифратора с номером, на единицу меньшим коэффициента пересчета.

Индикацию состояния счетчиков микросхем К176ИЕ8 и К561ИЕ8 удобно производить на газоразрядных индикаторах, согласуя их при помощи ключей на высоковольтных транзисторах n-р-n, например, серий П307 - П309, КТ604, КТ605 или сборках К166НТ1 (рис. 194).

Счетчики 2-3-222.jpg

Счетчики 2-3-223.jpg

Микросхемы К561ИЕ10 и КР1561ИЕ10 (рис. 195) содержат по два раздельных четырехразрядных двоичных счетчика, каждый из которых имеет входы СР, CN, R. Установка триггеров счетчиков в исходное состояние происходит при подаче на вход R лог. 1. Логика работы входов СР и CN отлична от работы аналогичных входов микросхем К561ИЕ8 и К561ИЕ9. Триггеры микросхем К561ИЕ10 и КР1561ИЕ10 срабатывают по спаду импульсов положительной полярности на входе СР при лог. 0 на входе CN (для К561ИЕ8 и К561ИЕ9 на входе CN должна быть

лог. 1) Возможна подача импульсов отрицательной полярности на вход CN, при этом на входе СР должна быть лог 1 (для К561ИЕ8 и К561ИЕ9 - лог. 0). Таким образом, входы СР и CN в микросхемах К561ИЕ10 и КР1561ИЕ10 объединены по схеме элемента И, в мик-росхемах К561ИЕ8 и К561ИЕ9 - ИЛИ.

Временная диаграмма работы одного счетчика микросхемы приве-дена на рис. 196. При соединении микросхем в многоразрядный счет-чик с последовательным переносом выходы 8 предыдущих счетчиков соединяют со входами СР последующих, а на входы CN подают лог. 0 (рис. 197). Если необходимо обеспечить параллельный перенос, сле-дует установить дополнительные элементы И-НЕ и ИЛИ-НЕ. На рис. 198 приведена схема счетчика с параллельным переносом. Про-хождение счетного импульса на вход СР счетчика DD2.2 через эле-мент DD1.2 разрешается при состоянии 1111 счетчика DD2.1, при ко-тором на выходе элемента DD3.1 лог. 0. Аналогично прохождение счетного импульса на вход СР DD4.1 возможно лишь при состоянии 1111 счетчиков DD2.1 и DD2.2 и т. д. Назначение элемента DD1.1 такое же, как и DD1.1 в схеме рис. 189, и он при тех же условиях может быть исключен. Максимальная частота входных импульсов для обоих вариантов счетчиков одинакова, но в счетчике с параллельным переносом переключение всех выходных сигналов происходит одновременно.

Один счетчик микросхемы может быть использован для построения делителей частоты с коэффициентом деления от 2 до 16. Для примера на рис. 199 приведена схема счетчика с коэффициентом, пересчета 10 Для Получения коэффициентов пересчета -,5,6,9,12 можно воспользоваться той же схемой, соответствующим образом выбрав выходы счетчика для подключения ко входам DD2.1 Для получения коэффициентов пересчета 7, 11, 13, l4 элемент DD2.1 должен иметь три входа, для коэффициента 15 - четыре входа.



Счетчики 2-3-224.jpg

Счетчики 2-3-225.jpg

Счетчики 2-3-225.jpg

Микросхема К561ИЕ11 - двоичный четырехразрядный реверсивный счетчик с возможностью параллельной записи информации (рис. 200). Микросхема имеет четыре информационных выхода 1, 2, 4,8, выход переноса Р и следующие входы: вход переноса PI, вход установки исходного состояния R, вход для подачи счетных импульсов С, вход направления счета U, входы для подачи информации при параллельной записи Dl - D8, вход параллельной записи S.

Вход R имеет приоритет над остальными входами: если на него подать лог. 1, на выходах 1, 2, 4, 8 будет лог.0 независимо от состояния

Счетчики 2-3-226.jpg

Счетчики 2-3-227.jpg

других входов. Если на входе R лог. 0, приоритет имеет вход S. При подаче на него лог. 1 происходит асинхронная запись информации со входов D1 -D8 в триггеры счетчика.

Если на входах R, S, PI лог. 0, разрешается рабо-та микросхемы в счетном режиме. Если на входе U лог. 1, по каждому спаду входного импульса отрицательной полярности, поступающему на вход С, состояние счетчика будет увеличиваться на единицу. При лог. 0 на входе U счетчик переключается

в режим вычитания - по каждому спаду импульса отрицательной полярности на входе С состояние счетчика уменьшается на единицу. Если на вход переноса PI подать лог. 1, счетный режим запрещается.

На выходе переноса Р лог. 0, если на входе PI лог. 0 и все триггеры счетчика находятся в состоянии 1 при счете вверх или в состоянии 0 при счете вниз.

Для соединения микросхем в счетчик с последовательным переносом необходимо объединить между собой все входы С, выходы Р микросхем соединить со входами PI следующих, а на вход PI младшего разряда подать лог. 0 (рис. 201). Выходные сигналы всех микросхем счетчика изменяются одновременно, однако максимальная частота работы счетчика меньше, чем отдельной микросхемы из-за накопления задержек в цепи переноса. Для обеспечения максимальной рабочей частоты многоразрядного счетчика необходимо обеспечить параллельный перенос, для чего на входы PI всех микросхем подать лог. О, а сигналы на входы С микросхем подать через дополнительные элементы ИЛИ, как это показано на рис. 202. В этом случае прохождение счетного импульса на входы С микросхем будет разрешено только тогда, когда на выходах Р всех предыдущих микросхем лог. 0,

Счетчики 2-3-228.jpg

Счетчики 2-3-229.jpg

причем время задержки этого разрешения после одновременного срабатывания микросхем не зависит от числа разрядов счетчика.

Особенности построения микросхемы К561 ИЕ11 требуют, чтобы изменение сигнала направления счета на входе U происходило в паузе между счетными импульсами на входе С, то есть при лог. 1 на этом входе, или по спаду этого импульса.

Микросхема К176ИЕ12 предназначена для использования в электронных часах (рис. 203). В ее состав входят кварцевый генератор G с внешним кварцевым резонатором на частоту 32768 Гц и два делителя частоты: СТ2 на 32768 и СТ60 на 60. При подключении к микросхеме кварцевого резонатора по схеме рис. 203 (б) она обеспечивает получение частот 32768, 1024, 128, 2, 1, 1/60 Гц. Импульсы с частотой 128 Гц формируются на выходах микросхемы Т1 - Т4, их скважность равна 4, сдвинуты они между собой на четверть периода. Эти импульсы предназначены для коммутации знакомест индикатора часов при динамической индикации. Импульсы с частотой 1/60 Гц подаются на счетчик минут, импульсы с частотой 1 Гц могут использоваться для подачи на счетчик секунд и для обеспечения мигания разделительной точки, для установки показаний часов могут использоваться импульсы с частотой 2 Гц. Частота 1024 Гц предназначена для звукового сигнала

будильника и для опроса разрядов счетчиков при динамической индикации, выход частоты 32768 Гц - контрольный. Фазовые соотношения колебаний различных частот относительно момента снятия сигнала сброса продемонстрированы на рис. 204, временные масштабы различных диаграмм на этом рисунке различны. При использовании

Счетчики 2-3-230.jpg

Счетчики 2-3-230.jpg

импульсов с выходов Т1 - Т4 для других целей следует обратить внимание на наличие коротких ложных импульсов на этих выходах.

Особенностью микросхемы является то, что первый спад на выходе минутных импульсов М появляется спустя 59 с после снятия сигнала установки 0 со входа R. Это заставляет при пуске часов отпускать кнопку, формирующую сигнал установки 0, спустя одну секунду после шестого сигнала поверки времени. Фронты и спады сигналов на выходе М синхронны со спадами импульсов отрицательной полярности на входе С.

Сопротивление резистора R1 может иметь ту же величину, что и для микросхемы К176ИЕ5. Конденсатор С2 служит для точной подстройки частоты, С- - для грубой. В большинстве случаев конденсатор С4 может быть исключен.

Счетчики 2-3-231.jpg

Микросхема К176ИЕ13 предназначена для построения электронных часов с будильником. Она содержит счетчики минут и часов, регистр памяти будильника, цепи сравнения и выдачи звукового сигнала, цепи динамической выдачи кодов цифр для подачи на индикаторы. Обычно микросхема К176ИЕ13 используется совместно с К176ИЕ12. Стандартное соединение этих микросхем показано на рис. 205. Основными выходными сигналами схемы рис. 205 являются импульсы Т1 - Т4 и коды цифр на выходах 1, 2, 4, 8. В моменты времени, когда на выходе Т1 лог. 1, на выходах 1,2,4,8 присутствует код цифры единиц минут, когда лог. 1 на выходе Т2 - код цифры десятков минут и т. д. На выходе S - импульсы с частотой 1 Гц для зажигания разделительной точки. Импульсы на выходе С служат для стробирования записи кодов цифр в регистр памяти микросхем К176ИД2 или К176ИД-, обычно используемых совместно с К176ИЕ12 и К176ИЕ13, импульс на выходе К может использоваться для гашения индикаторов во время коррекции показаний часов. Гашение индикаторов необходимо, поскольку в момент коррекции происходит остановка динамической индикации и при отсутствии гашения светится лишь один разряд с увеличенной в четыре раза яркостью.

На выходе HS - выходной сигнал будильника. Использование выходов S, К, HS не обязательно. Подача лог. 0 на вход V микросхемы переводит ее выходы 1, 2, 4, 8 и С в высокоимпедансное состояние.

При подаче питания на микросхемы в счетчик часов и минут и в регистр памяти будильника автоматически записываются нули. Для введения в счетчик минут начального показания следует нажать

Счетчики 2-3-232.jpg

Счетчики 2-3-232.jpg

кнопку SB1, показания счетчика начнут меняться с частотой 2 Гц от 00 до 59 и далее снова 00, в момент перехода от 59 к 00 показания счетчика часов увеличатся на единицу. Показания счетчика часов бу-дут также изменяться с частотой 2 Гц от 00 до 23 и снова 00, если нажать кнопку SB2. Если нажать кнопку SB3, на индикаторах появится время включения сигнала будильника. При одновременном нажатии кнопок SB1 и SB3 показание разрядов минут времени включения будильника будет изменяться от 00 до 59 и снова 00, однако переноса в разряды часов не происходит. Если нажать кнопки SB2 и SB3, будет изменяться показание разрядов часов времени включения будильника, при переходе из состояния 23 в 00 произойдет сброс показаний разрядов минут. Можно нажать сразу три кнопки, в этом случае будут изменяться показания как разрядов минут, так и часов.

Кнопка SB4 служит для пуска часов и коррекции хода в процессе эксплуатации. Если нажать кнопку SB4 и отпустить ее спустя одну секунду после шестого сигнала поверки времени, установится правильное показание и точная фаза работы счетчика минут. Теперь можно установить показания счетчика часов, нажав кнопку SB2, при этом ход счетчика минут не будет нарушен. Если показания счетчика минут находятся в пределах 00...39, показания счетчика часов при нажатии и отпускании кнопки SB4 не изменятся. Если же показания счетчика минут находятся в пределах 40...59, после отпускания кнопки SB4 показания счетчика часов увеличиваются на единицу. Таким образом, для коррекции хода часов независимо от того, опаздывали часы или спешили, достаточно нажать кнопку SB4 и отпустить ее спустя секунду после шестого сигнала поверки времени.

Стандартная схема включения кнопок установки времени обладает тем недостатком, что при случайном нажатии на кнопки SB1 или SB2 происходит сбой показаний часов. Если в схему рис. 205 добавить один диод и одну кнопку (рис. 206), показания часов можно будет изменять, лишь нажав сразу две кнопки - кнопку SB5 ("Установ-

Счетчики 2-3-233.jpg

ка") и кнопку SB1 или SB2, что случайно сделать значительно менее вероятно.

Если показания часов и время включения сигнала будильника не со-впадают, на выходе HS микросхемы К176ИЕ13 лог. 0. При совпадении по-казаний на выходе HS появляются им-пульсы положительной полярности

с частотой 128 Гц и длительностью 488 мкс (скважность 16). При по-даче их через эмиттерный повторитель на любой излучатель сигнал напоминает звук обычного механического будильника.Сигнал пре-кращается, когда показания часов и будильника перестают совпадать.

Схема согласования выходов микросхем К176ИЕ12 и К176ИЕ13 с индикаторами зависит от их типа. Для примера на рис. 207 приве-дена схема для подключения полупроводниковых семисегментных индикаторов с общим анодом. Как катодные (VT12 - VT18), так и анодные (VT6, VT7, VT9, VT10) ключи выполнены по схемам эмит-терных повторителей. Резисторами R4 - R10 определяется импульс-ный ток через сегменты индикаторов.

Указанная на рис. 207 величина сопротивлений резисторов R4 -R10 обеспечивает импульсный ток через сегмент примерно 36 мА, что соответствует среднему току 9мА. При таком токе индикаторы АЛ305А, АЛС321Б, АЛС324Б и другие имеют достаточно яркое све-чение. Максимальный коллекторный ток транзисторов VT12 - VT18 соответствует току одного сегмента 36 мА и поэтому здесь можно ис-пользовать практически любые маломощные транзисторы р-n-р с до-пустимым током коллектора 36 мА и более.

Импульсные токи транзисторов анодных ключей могут достигать 7 х 36 - 252 мА, поэтому в качестве анодных ключей можно исполь-зовать транзисторы, допускающие указанный ток, с коэффициентом передачи тока базы h21э не менее 120 (серий КТ3117, КТ503, КТ815).

Счетчики 2-3-234.jpg

Счетчики 2-3-234.jpg

Если транзисторы с таким коэффициентом подобрать нельзя, можно использовать составные транзисторы (КТ315 + КТ503 или КТ315 + КТ502). Транзистор VT8 - любой маломощный, структуры n-р-n.

Транзисторы VT5 и VT11 - эмиттерные повторители для подключения излучателя звука будильника НА1, в качестве которого можно использовать любые телефоны, в том числе и малогабаритные от слуховых аппаратов, любые динамические головки, включенные через выходной трансформатор от любого радиоприемника. Подбором емкости конденсатора С1 можно добиться необходимой громкости звучания сигнала, можно также установить переменный резистор 200...680 Ом, включив его потенциометром между С1 и НА1. Выключатель SA6 служит для отключения сигнала будильника.

Если используются индикаторы с общим катодом, эмиттерные повторители, подключаемые к выходам микросхемы DD3, следует выполнить на транзисторах n-р-n (серии КТ315 и др.), а вход S DD3 соединить с общим проводом. Для подачи импульсов на катоды . индикаторов следует собрать ключи на транзисторах n-р-n по схеме с общим эмиттером. Их базы следует соединить с выходами Т1 - Т4 микросхемы DD1 через резисторы 3,3 кОм. Требования к транзисторам те же, что и к транзисторам анодных ключей в случае индикаторов с общим анодом.

Индикация возможна и при помощи люминесцентных индикаторов. В этом случае необходима подача импульсов Т1 - Т4 на сетки индикаторов и подключение объединенных между собой одноименных анодов индикаторов через микросхему К176ИД2 или К176ИД- к выходам 1, 2, 4, 8 микросхемы К176ИЕ13.

Схема подачи импульсов на сетки индикаторов приведена на рис. 208. Сетки С1, С2, С4, С5 - соответственно сетки знакомест единиц и десятков минут, единиц и десятков часов, С- - сетка разделительной точки. Аноды индикаторов следует подключить к выходам микросхемы К176ИД2, подключенной к DD2 в соответствии с включением DD3 на рис. 207 при помощи ключей, подобных ключам рис. 178 (б), 179,180, на вход S микросхемы К176ИД2 должна быть подана лог. 1.

Возможно использование микросхемы К176ИД- без ключей, ее вход S должен быть подключен к общему проводу. В любом случае аноды и сетки индикаторов должны быть через резисторы 22...100 кОм подключены к источнику отрицательного напряжения, которое по абсолютной величине на 5...10 В больше отрицательного напряжения, подведенного к катодам индикаторов. На схеме рис. 208 это резисторы R8 - R12 и напряжение -27 В.

Счетчики 2-3-235.jpg

Подачу импульсов Т1 - Т4 на сетки индикаторов удобно производить при помощи микросхемы К161КН2, подав на нее напряжения питания в соответствии с рис. 180.

В качестве индикаторов могут использоваться любые одноместные вакуумные люминесцентные индикаторы, а также плоские четырехместные индикаторы с разделительными точками ИВЛ1 - 7/5 и ИВЛ2 - 7/5, специально предназначенные для часов. В качестве DD4 схемы рис. 208 можно использовать любые инвертирующие логические элементы с объединенными входами.

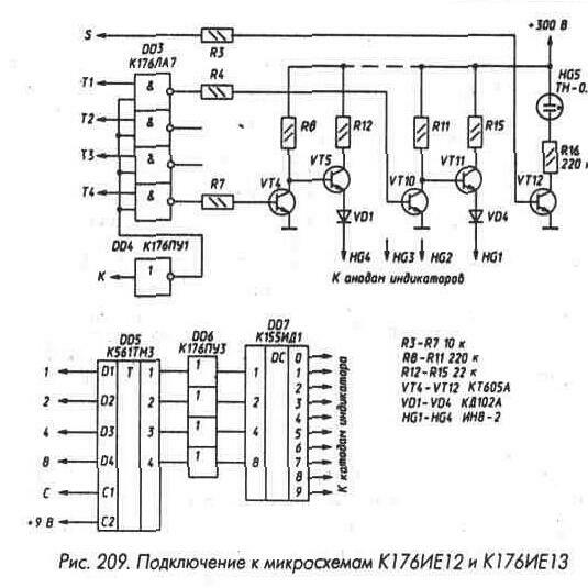
На рис. 209 приведена схема согласования с газоразрядными индикаторами. Анодные ключи могут быть выполнены на транзисторах серий КТ604 или КТ605, а также на транзисторах сборок К166НТ1.

Неоновая лампа HG5 служит для индикации разделительной точки. Одноименные катоды индикаторов следует объединить и подключить к выходам дешифратора DD7. Для упрощения схемы можно исключить инвертор DD4, обеспечивающий гашение индикаторов на время нажатия кнопки коррекции.

Возможность перевода выходов микросхемы К176ИЕ13 в высокоимпедансное состояние позволяет построить часы с двумя вариантами показаний (например, MSK и GMT) и двумя будильниками, один из которых можно использовать для включения какого-либо устройства, другой - для выключения (рис. 210).

Одноименные входы основной DD2 и дополнительной DD2 микросхем К176ИЕ13 соединяют между собой и с другими элементами по схеме рис. 205 (можно с учетом рис. 206), за исключением входов Р и V. В верхнем по схеме положении переключателя SA1 сигналы

Счетчики 2-3-236.jpg

установки от кнопок SB1 - SB3 могут поступать на вход Р микросхемы DD2, в нижнем - на DD2. Подачей сигналов на микросхему DD3 управляют секцией SA1.2 переключателя. В верхнем положении пе-реключателя SA1 лог. 1 поступает на вход V микросхемы DD2 и на входы DD3 проходят сигналы с выходов DD2. В нижнем положении переключателя лог. 1 на входе V микросхемы DD2 разрешает передачу сигналов с ее выходов.

В результате при верхнем положении переключателя SA1 можно управлять первыми часами и будильником и индицировать их состояние, в нижнем - вторыми.

Срабатывание первого будильника включает триггер DD4.1, DD4.2, на выходе DD4.2 появляется лог. 1, которую можно использовать для включения какого-либо устройства, срабатывание второго будильника выключает это устройство. Кнопки SB5 и SB6 также можно использовать для его включения и выключения.

При использовании двух микросхем К176ИЕ13 сигнал сброса на вход R микросхемы DD1 следует взять непосредственно с кнопки SB4. В этом случае коррекция показаний происходит, как при показанном на рис. 205 соединении, но блокировки кнопки SB4 "Корр."

Счетчики 2-3-237.jpg

при нажатии кнопки SB3 "Буд." (рис. 205), существующей в стандартном варианте, не происходит. При одновременном нажатии кнопок SB3 и SB4 в часах с двумя микросхемами К176ИЕ13 происходит сбой показаний, но не хода часов. Правильные показания восстанавливаются, если повторно нажать кнопку SB4 при отпущенной SB3.

Микросхема К561ИЕ14 - двоичный и двоичнодесятичный четырехразрядный десятичный счет-чик (рис. 211). Ее отличие от микросхемы К561 ИЕ11 заключается в замене входа R на вход В - вход переключения модуля счета. При лог. 1 на входе В микросхема К561ИЕ14 производит двоичный счет, так же, как и К561ИЕ11, при лог. 0 на входе В - двоично-десятичный. Назначение остальных входов, режимы работы и правила включения для этой микросхемы такие же, как и для К561ИЕ11.

Микросхема КА561ИЕ15 - делитель частоты с переключаемым коэффициентом деления (рис. 212). Микросхема имеет четыре управляющих входа Kl, K2, К-, L, вход для подачи тактовых импульсов С, шестнадцать входов для установки коэффициента деления 1-8000 и один выход.

Счетчики 2-3-238.jpg

Микросхема позволяет иметь несколько вариантов задания коэффициента деления, диапазон изменения его составляет от 3 до 21327. -десь будет рассмотрен наиболее простой и удобный вариант, для которого, однако, максимально возможный коэффициент деления составляет 16659. Для этого варианта на вход К- следует постоянно подавать лог. 0.

Вход К2 служит для установки начального состояния счетчика, которая происходит за три периода входных импульсов при подаче на вход К2 лог. 0. После подачи лог. 1 на вход К2 начинается работа счетчика в режиме деления частоты. Коэффициент деления частоты при подаче лог. 0 на входы L и К1 равен 10000 и не зависит от сигналов, поданных на входы 1-8000. Если на входы L и К1 подать различные входные сигналы (лог.0 и лог. 1 или лог. 1 и лог. 0), коэффициент деления частоты входных импульсов определится двоично-десятичным кодом, поданным на входы 1-8000. Для примера на рис. 213 показана временная диаграмма работы микросхемы в режиме деления на 5, для обеспечения которого на входы 1 и 4 следует подать лог. 1, на входы 2, 8-8000 - лог. 0 (К1 не равно L).

Счетчики 2-3-239.jpg

Длительность выходных импульсов положительной полярности равна периоду входных импульсов, фронты и спады выходных импульсов совпадают со спадами входных импульсов отрицательной полярности.

Как видно из временной диаграммы, первый импульс на выходе микросхемы появляется по спаду входного импульса с номером, на единицу большим коэффициента деления.

При подаче лог. 1 на входы L и К1 осуществляется режим однократного счета. При подаче на вход К2 лог. 0 на выходе микросхемы появляется лог. 0. Длительность импульса начальной установки на входе К2 должна быть, как и в режиме деления частоты, не менее трех периодов входных импульсов. После окончания на входе К2 импульса начальной установки начнется счет, который будет происходить по спадам входных импульсов отрицательной полярности. После окончания импульса с номером, на единицу большим кода, установленного на

входах 1-8000, лог. 0 на выходе изменится на лог. 1, после чего изменяться не будет (рис. 213, К1 - L - 1). Для очередного запуска необходимо на вход К2 вновь подать импульс начальной установки.

Данный режим работы микросхемы подобен работе ждущего мультивибратора с цифровой установкой длительности импульса, следует только помнить, что в длительность входного импульса входит длительность импульса начальной установки и, сверх того, еще один период входных импульсов.

Если после окончания формирования выходного сигнала в режиме однократного счета на вход К1 подать лог. 0, микросхема перейдет в режим деления входной частоты, причем фаза выходных импульсов будет определяться импульсом начальной установки, поданным ранее в режиме однократного счета. Как уже указывалось выше, микросхема может обеспечить фиксированный коэффициент деления частоты, равный 10000, если на входы L и К1 подать лог. 0. Однако после импульса начальной установки, поданного на вход К2, первый выходной импульс появится после подачи на вход С импульса с номером, на единицу большим кода, установленного на входах 1-8000. Все последующие выходные импульсы будут появляться через 10000 периодов входных импульсов после начала предыдущего.

На входах 1-8 допустимые сочетания входных сигналов должны соответствовать двоичному эквиваленту десятичных чисел от 0 до 9. На входах 10-8000 допустимы произвольные сочетания, то есть возможна подача на каждую декаду кодов чисел от 0 до 15. В результате максимально возможный коэффициент деления К составит:

К - 15000 + 1500 + 150 + 9 = 16659.

Микросхема может найти применение в синтезаторах частоты, электромузыкальных инструментах, программируемых реле времени, для формирования точных временных интервалов в работе различных устройств.

Счетчики 2-3-240.jpg

Микросхема К561ИЕ16 - четырнадцатиразрядный двоичный счетчик с последовательным переносом (рис. 214). У микросхемы два входа -вход установки начального состояния R и вход для подачи тактовых импульсов С.Установка триггеров счетчика в 0 производится при подаче на вход R лог. 1, счет - по спадам импульсов положительной полярности, подаваемых на вход С.

Счетчик имеет выходы не всех разрядов - отсутствуют выходы разрядов 21 и 22, поэтому, если

необходимо иметь сигналы со всех двоичных разрядов счетчика, следует использовать еще один счетчик, работающий синхронно и имеющий выходы 1, 2, 4, 8, например половину микросхемы К561ИЕ10 (рис. 215).

Счетчики 2-3-241.jpg

Счетчики 2-3-241.jpg

Коэффициент деления одной микросхемы К561ИЕ16 составляет 214 = 16384, при необходимости получения большего коэффициента деления можно выход 213 микросхемы соединить со входом еще одной такой же микросхемы или со входом СР любой другой микросхемы - счетчика. Если вход второй микросхемы К561ИЕ16 подключить к выходу 2^10 предыдущей, можно за счет уменьшения разрядности счетчика получить недостающие выходы двух разрядов второй микросхемы (рис. 216). Подключая ко входу микросхемы К561ИЕ16 половину микросхемы К561ИЕ10, можно не только получить недостающие выходы, но и увеличить разрядность счетчика на единицу (рис. 217) и обеспечить коэффициент деления 215 =32768.

Микросхему К561ИЕ16 удобно применять в делителях частоты с перестраиваемым коэффициентом деления по схеме, аналогичной рис. 199. В этой схеме элемент DD2.1 должен иметь столько входов, сколько единиц в двоичном представлении числа, определяющего необходимый коэффициент деления. Для примера на рис. 218 приведена схема делителя частоты с коэффициентом пересчета 10000. Двоичный эквивалент десятичного числа 10000 составляет 10011100010000, необходим элемент И на пять входов, которые должны быть подключены к выходам 2^4=16,2^8 =256,2^9= 512,2^10=1024 и 2^13=8192. Если необходимо подключение к выходам 2^2 или 2^3, следует использовать схему рис. 215 или 59, при коэффициенте более 16384 - схему рис. 216.

Для перевода числа в двоичную форму его нацело следует разделить на 2, остаток (0 или 1) записать. Получившийся результат вновь разделить на 2, остаток записать и так далее, пока после деления не останется нуль. Первый остаток является младшим разрядом двоичной формы числа, последний - старшим.

Микросхема К176ИЕ17 - календарь. Она содержит счетчики дней недели, чисел месяца и месяцев. Счетчик чисел считает от 1 до 29, 30 или 31 в зависимости от месяца. Счет дней недели производится от 1 до 7, счет месяцев - от 1 до 12. Схема подключения микросхемы К176ИЕ17 к микросхеме К176ИЕ13 часов приведена на рис. 219. На выходах 1-8 микросхемы DD2 присутствуют поочередно коды цифр числа и месяца аналогично кодам часов и минут на выходах

Счетчики 2-3-242.jpg

микросхемы К176ИЕ13. Подключение индикаторов к указанным вы-ходам микросхемы К176ИЕ17 производится аналогично их подключению к выходам микросхемы К176ИЕ13 с использованием импульсов записи с выхода С микросхемы К176ИЕ13.

На выходах А, В, С постоянно присутствует код 1-2-4 порядкового номера дня недели. Его можно подать на микросхему К176ИД2 или К176ИД- и далее на какой-либо семисегментный индикатор, в результате чего на нем будет индицироваться номер дня недели. Однако более интересной является возможность вывода двухбуквенного обозначения дня недели на цифробуквенные индикаторы ИВ-4 или ИВ-17, для чего необходимо изготовить специальный преобразователь кода.

Установка числа, месяца и дня недели производится аналогично установке показаний в микросхеме К176ИЕ13. При нажатии кнопки SB1 происходит установка числа, кнопки SB2 - месяца, при совместном нажатии SB3 и SB1 - дня недели. Для уменьшения общего

Счетчики 2-3-243.jpg

Счетчики 2-3-244.jpg

Счетчики 2-3-245.jpg

числа кнопок в часах с календарем можно использовать кнопки SB1 -SB3, SB5 схемы рис. 206 для уста-новки показаний календаря, переключая их общую точку тумблером со входа Р микросхемы К176ИЕ13 на вход Р микросхемы К176ИЕ17. Для каждой из указанных микросхем цепь R1C1 должна быть своя подобно схеме рис. 210.

Подача лог. 0 на вход V микросхемы переводит ее выходы 1-8 в высокоимпедансное состояние. Это свойство микросхемы позволяет относительно несложно организовать поочередную выдачу показаний часов и календаря на один четырехразрядный индикатор (кроме дня недели). Схема

подключения микросхемы К176ИД2 (ИД-) к микросхемам ИЕ13 и ИЕ17 для обеспечения указанного режима приведена на рис. 220, цепи соединения микросхем К176ИЕ13, ИЕ17 и ИЕ12 между собой не показаны. В верхнем по схеме положении переключателя SA1 ("Часы") выходы 1-8 микросхемы DD3 находятся в высокоимпедансном состоянии, выходные сигналы микросхемы DD2 через резисторы R4 - R7 поступают на входы микросхемы DD4, индицируется состояние микросхемы DD2 - часы и минуты. При нижнем положении переключателя SA1 ("Календарь") выходы микросхемы DD3 активизируются, и теперь уже микросхема DD3 определяет входные сигналы микросхемы DD4. Переводить выходы микросхемы DD2 в высокоимпедансное состояние, как это сделано в схеме

Счетчики 2-3-246.jpg

рис. 210, нельзя, так как при этом перейдет в высокоимпедансное состояние и выход С микросхемы DD2, а аналогичного выхода микросхема DD3 не имеет. В схеме рис. 220 реализовано упомянутое выше использование одного комплекта кнопок для установки показаний часов и календаря. Импульсы от кнопок SB1 - SB3 поступают на вход Р микросхемы DD2 или DD3 в зависимости от положения того же переключателя SA1.

Микросхема К176ИЕ18 (рис. 221) по своему строению во многом напоминает К176ИЕ12. Ее основным отличием является выполнение выходов Т1 - Т4 с открытым стоком, что позволяет подключать сетки вакуумных люминесцентных индикаторов к этой микросхеме без согласующих ключей.

Для обеспечения надежного запирания индикаторов по их сеткам скважность импульсов Т1 - Т4 в микросхеме К176ИЕ18 сделана несколько более четырех и составляет 32/7. При подаче лог. 1 на вход R микросхемы на выходах Т1 - Т4 лог. 0, поэтому подача специального сигнала гашения на вход К микросхем К176ИД2 и К176ИД- не требуется.

Вакуумные люминесцентные индикаторы зеленого свечения в темноте кажутся значительно более яркими, чем на свету, поэтому желательно иметь возможность изменения яркости индикатора. Микро-схема К176ИЕ18 имеет вход Q, подачей лог. 1 на этот вход можно в 3,5 раза увеличить скважность импульсов на выходах Т1 - Т4 и во

Счетчики 2-3-247.jpg

столько же раз уменьшить яркость свечения индикаторов. Сигнал на вход Q можно подать или с переключателя яркости, или с фоторезистора, второй вывод которого подключен к плюсу питания. Вход Q в этом случае следует соединить с общим проводом через резистор 100 к0м...1 МОм, который необходимо подобрать для получения требуемого порога внешней освещенности, при котором будет происходить автоматическое переключение яркости.

Следует отметить, что при лог. 1 на входе Q (малая яркость) установка показаний часов не действует.

Микросхема К176ИЕ18 имеет специальный формирователь звукового сигнала. При подаче импульса положительной полярности на вход HS на выходе HS появляются пачки импульсов отрицательной полярности с частотой 2048 Гц и скважностью 2. Длительность пачек - 0,5 с, период повторения - 1 с. Выход HS выполнен с открытым стоком и позволяет подключать излучатели с сопротивлением 50 Ом и выше между этим выходом и плюсом питания без эмиттерного повторителя. Сигнал присутствует на выходе HS до окончания очередного минутного импульса на выходе М микросхемы.

Следует отметить, что допустимый выходной ток микросхемы К176ИЕ18 по выходам Т1 - Т4 составляет 12 мА, что значительно превышает ток микросхемы К176ИЕ12, поэтому требования к коэффициентам усиления транзисторов в ключах при применении микросхем К176ИЕ18 и полупроводниковых индикаторов (рис. 207) значительно менее жестки, достаточно h21э > 20. Сопротивление базовых

резисторов в катодных ключах может быть уменьшено до 510 Ом при h21э > 20 или до 1к0м при h21э > 40.

Микросхемы К176ИЕ12, К176ИЕ13, К176ИЕ17, К176ИБ18 допускают напряжение питания такое же, как и микросхемы серии К561 - от 3 до 15 В.

Счетчики 2-3-248.jpg

Микросхема К561ИЕ19 - пятиразрядный сдвигающий регистр с возможностью параллельной записи информации, предназначенный для построения счетчиков с программируемым модулем счета (рис. 222). Микросхема имеет пять информационных входов для параллельной записи D1 -D5, вход информации для последовательной записи DO, вход параллельной записи S, вход сброса R, вход для подачи тактовых импульсов С и пять инверсных выходов 1-5.

Вход R является преобладающим - при подаче на него лог. 1 все Триггеры микросхемы устанавливаются в 0, на всех выходах появляется лог. 1 независимо от сигналов на других входах. При подаче на вход R лог. 0, на вход S лог. 1 происходит запись информации со входов D1 - D5 в триггеры микросхемы, на выходах 1-5 она появляется в инверсном виде.

При подаче на входы R и S лог. 0 возможен сдвиг информации в триггерах микросхемы, который будет происходить по спадам импульсов отрицательной полярности, поступающим на вход С. В первый триггер ин-формация будет записываться со входа D0.

Счетчики 2-3-249.jpg

Если соединить вход DO с одним из выходов 1-5, можно получить счетчик с коэффициентом пересчета 2, 4, 6, 8, 10. Для примера на рис. 223 показана временная диаграмма работы микросхемы в режиме деления на 6, который организуется в случае соединения входа D0 с выходом 3. Если необходимо получить нечетный коэффициент

пересчета 3,5,7 или 9, следует использовать двухвходовый элемент И, входы которого подключить соответственно к выходам 1 и 2, 2 и 3, 3 и 4,4 и 5, выход - ко входу DO. Для примера на рис. 224 приведена схема делителя частоты на 5, на рис. 225 - временная диаграмма его работы.

Счетчики 2-3-250.jpg

Следует иметь в виду, что использование микросхемы К561ИЕ19 в качестве сдвигающего регистра невозможно, так как она содержит цепи коррекции, в результате чего комбинации состояний триггеров, не являющиеся рабочими для счетного режима, автоматически исправляются. Наличие цепей коррекции позволяет

Счетчики 2-3-251.jpg

Счетчики 2-3-252.jpg

аналогично использованию микросхем К561ИЕ8 и К561 ИЕ9 не подавать импульс начальной установки на счетчик, если фаза выходных импульсов не важна.

Микросхема КР1561ИЕ20 (рис. 226) - двенадцатиразрядный двоичный счетчик с коэффициентам деления 2^12 = 4096. У нее два входа - R (для установки нулевого состояния) и С (для подачи тактовых импульсов). При лог. 1 на входе R счетчик устанавливается в нулевое состояние, а при лог. 0 - считает по спадам поступающих на вход С импульсов положительной полярности. Микросхему можно использовать для деления частоты на коэффициенты, являющиеся степенью числа 2. Для построения делителей с другим коэффициентом деления можно воспользоваться схемой для включения микросхемы К561ИЕ16 (рис. 218).

Микросхема КР1561ИЕ21 (рис. 227) - синхронный двоичный счетчик с возможностью параллельной записи информации по спаду тактового

импульса. Микросхема функционирует аналогично К555ИЕ10 (рис. 38).

Вся информация, предоставленная на данном ресурсе разрешена к ознакомлению детям школьного возраста. Все практическое использование может быть связана с повышенной электрической опасностью и разрешено детям только под присмотром взрослых.